PRODUCTS

  • Home
  • Giới thiệu sản phẩm

Schaeffler
HXP-83
Hydraulic two-/three-arm puller HXP-83
Thêm vào yêu cầu báo giá
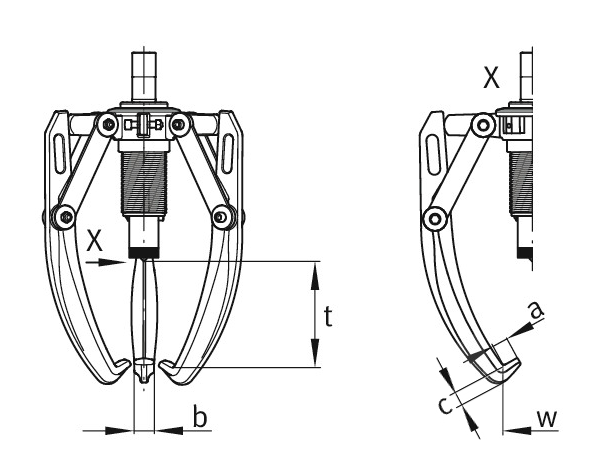
Technical data
wmin
95 mm
Grip width, min.
wmax
460 mm
Grip width, max.
tmax
280 mm
Grip depth, max.
a
13 mm
b
22 mm
c
10 mm
85 mm
Stroke
FP
75 kN
Pulling force
≈m
9 kg
Weight

Additional information
two- or three-arm puller (convertible); separate hand pump required
Usability
Safety net or safety blanket, thrust piece, extension adapter, carrying case
Included in delivery

Your current product variant
SeriesHXP2/3-Arm, self-centering with separate hand pump
Thêm vào yêu cầu báo giá