PRODUCTS
- Home
- Giới thiệu sản phẩm
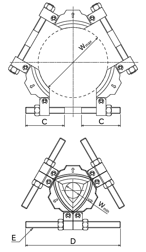
| wmin | 90 mm | Grip width, min. |
| wmax | 340 mm | Grip width, max. |
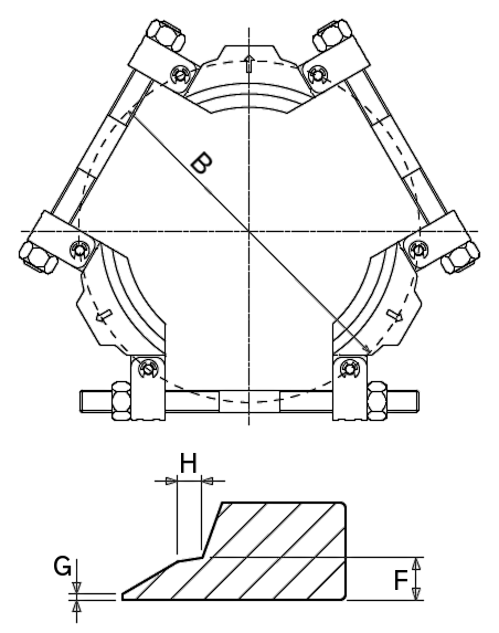
| Bmax | 460 mm | |
| C | 175 mm | |
| D | 430 mm | |
| E | 1¼”-12UNF | |
| F | 14 mm | |
| G | 2 mm | |
| H | 8 mm | |
| FZ max | 190 kN | max. permissible pulling force |
| ≈m | 18 kg | Weight |
in combination with puller: HP/HSP/HXP 83, 123, 203, HPP 123 | Usability |
| Series | TSP | Series TSP |