PRODUCTS

  • Home
  • Giới thiệu sản phẩm

FAG
22213-E1-XL-H40-C3
Spherical Roller Bearing 22213-E1-XL-H40-C3
Thêm vào yêu cầu báo giá
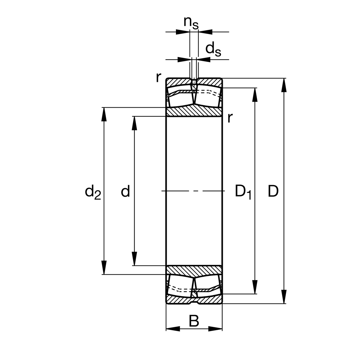
Main Dimensions & Performance Data
d
65 mm
Bore diameter
D
120 mm
Outside diameter
B
31 mm
Width
Cr
202,000 N
Basic dynamic load rating, radial
C0r
210,000 N
Basic static load rating, radial
Cur
26,500 N
Fatigue load limit, radial
nG
7,000 1/min
Limiting speed
nϑr
4,200 1/min
Reference speed
≈m
1.435 kg
Weight

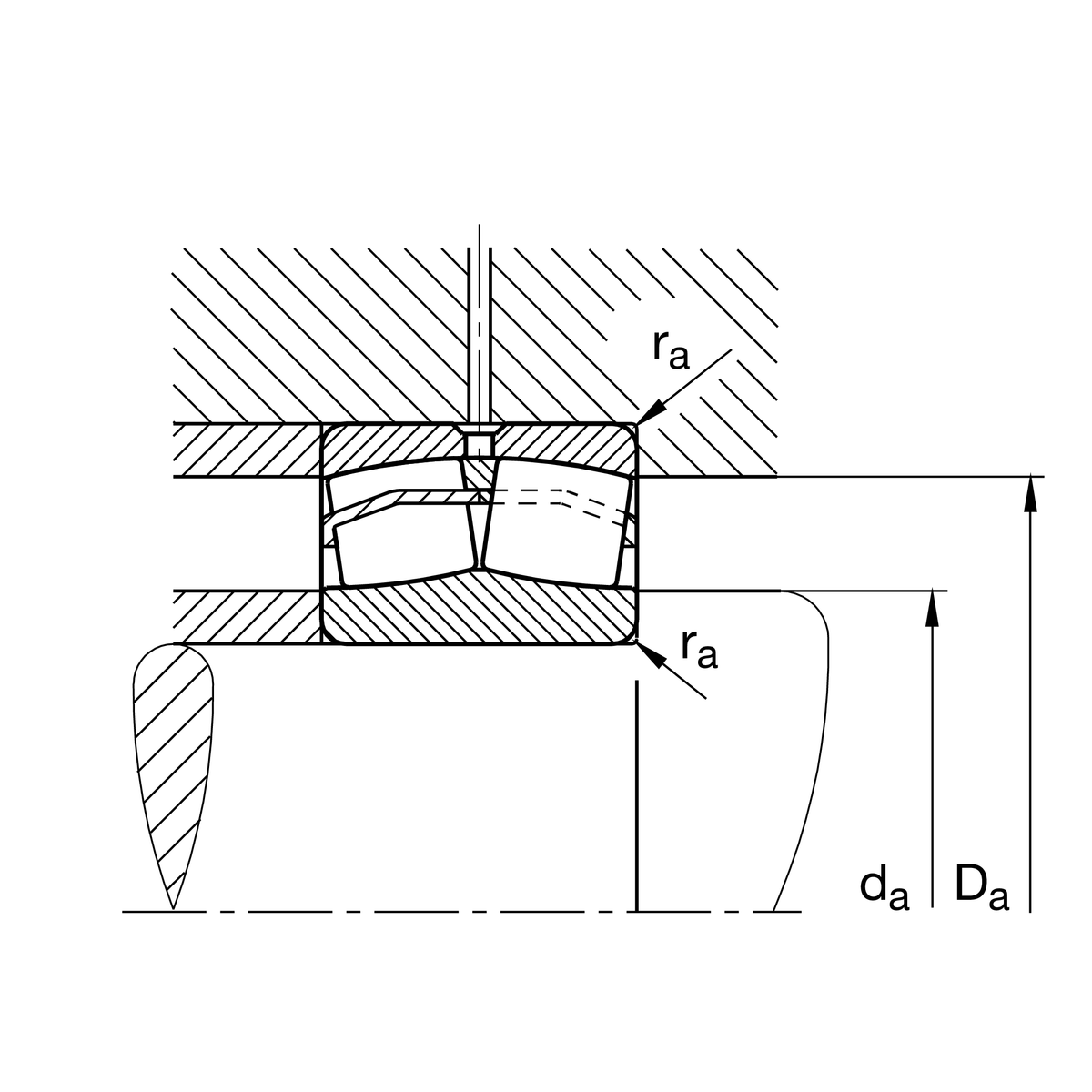
Mounting dimensions
da min
74 mm
Minimum diameter shaft shoulder
Da max
111 mm
Maximum diameter of housing shoulder
ra max
1.5 mm
Maximum recess radius

Dimensions
rmin
1.5 mm
Minimum chamfer dimension
D1
107.3 mm
Bore diameter outer ring
d2
79.1 mm
Raceway diameter of the inner ring

Temperature range
Tmin
-30 °C
Operating temperature min.
Tmax
200 °C
Operating temperature max.

Calculation factors
e
0.24
Limiting value of Fa/Fr for the applicability of diff. Values of factors X and Y
Y1
2.81
Dynamic axial load factor
Y2
4.19
Dynamic axial load factor
Y0
2.75
Static axial load factor

Your current product variant
DesignE1without central rip
Bore typeZCylindrical
CageJPASheet metal cage
Radial internal clearanceC3 (Group 3)Internal clearance larger than CN
Relubrication featureH40Without lubricating groove and holes
Thêm vào yêu cầu báo giá