PRODUCTS

  • Home
  • Giới thiệu sản phẩm

FAG
21313-E1-XL-TVPB
Spherical Roller Bearing 21313-E1-XL-TVPB
Thêm vào yêu cầu báo giá
Main Dimensions & Performance Data
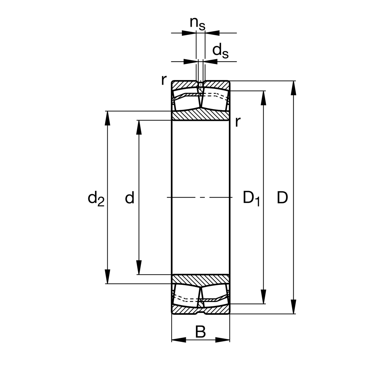
d
65 mm
Bore diameter
D
140 mm
Outside diameter
B
33 mm
Width
Cr
250,000 N
Basic dynamic load rating, radial
C0r
270,000 N
Basic static load rating, radial
Cur
34,500 N
Fatigue load limit, radial
nG
6,200 1/min
Limiting speed
nϑr
3,600 1/min
Reference speed
≈m
2.389 kg
Weight

Mounting dimensions
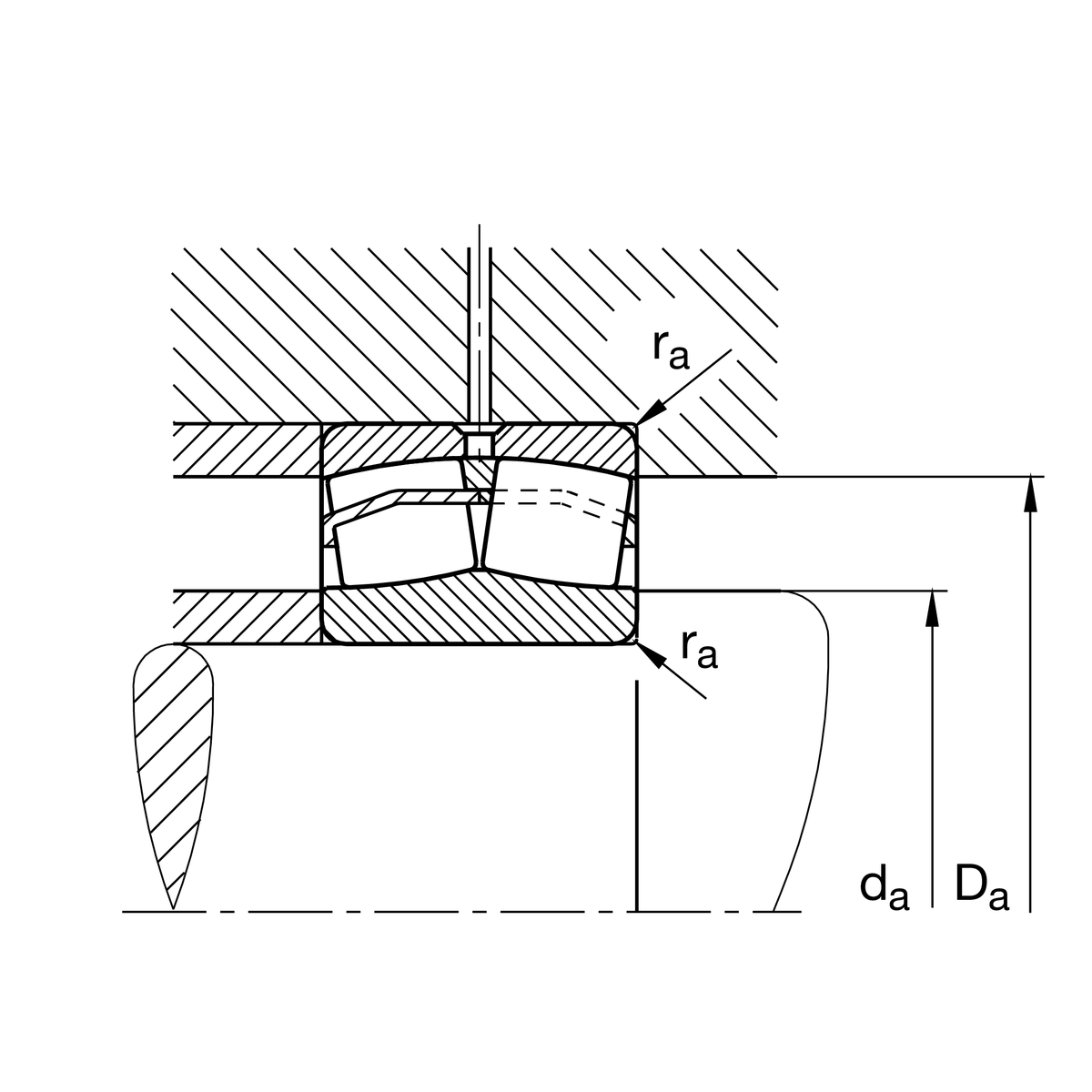
da min
77 mm
Minimum diameter shaft shoulder
Da max
128 mm
Maximum diameter of housing shoulder
ra max
2.1 mm
Maximum recess radius

Dimensions
rmin
2.1 mm
Minimum chamfer dimension
D1
126.8 mm
Bore diameter outer ring
d2
94.9 mm
Raceway diameter of the inner ring
ds
3.2 mm
Diameter lubrication hole
ns
6.5 mm
Width of lubricating groove

Temperature range
Tmin
-30 °C
Operating temperature min.
Tmax
120 °C
Operating temperature max.

Calculation factors
e
0.22
Limiting value of Fa/Fr for the applicability of diff. Values of factors X and Y
Y1
3.14
Dynamic axial load factor
Y2
4.67
Dynamic axial load factor
Y0
3.07
Static axial load factor

Your current product variant
DesignE1without central rip
Bore typeZCylindrical
CageTVPBPlastic cage
Radial internal clearanceCN (Group N)Normal internal clearance
Relubrication featureStandard
Thêm vào yêu cầu báo giá