PRODUCTS
- Home
- Giới thiệu sản phẩm
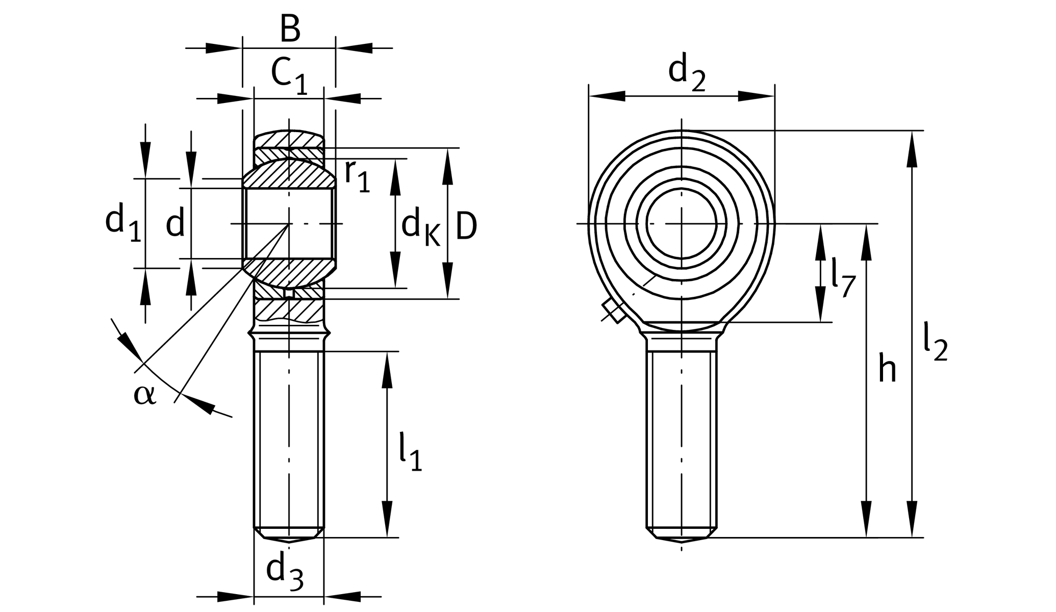
| Cr | 38,100 N | Basic dynamic load rating, radial |
| C0r | 61,100 N | Basic static load rating, radial |
| d | 22 mm | Bore diameter bearing |
| D | 42 mm | Outside diameter bearing |
| l2 | 111 mm | Total length external thread head |
| B | 28 mm | Width inner ring |
| d2 | 54 mm | Outer eye diameter |
| ≈m | 0.5 kg | Weight |
| d1 | 25.8 mm | Outer flange diameter inner ring |
| r1smin | 0.3 mm | Edge Spacing |
| dK | 38.1 mm | Ball diameter |
| d3 | M22x1,5 | Thread size |
| h | 84 mm | Shank Length External thread rod |
| C1 | 20 mm | Width of the rod end |
| α | 15 ° | Tilt angle |
| l1 | 48 mm | Shank Length External thread head |
| l7 | 29 mm | Distance drilling with/shaft start |
| dOT | 0.021 mm | Bore diameter bearing, upper tolerance |
| dUT | 0 mm | Bore diameter bearing, lower tolerance |
| dT | H7 | Bore diameter bearing, tolerance |
| BOT | 0 mm | Width inner ring, upper tolerance |
| BUT | -0.12 mm | Width inner ring, lower tolerance |
| Gr | 0 - 0,035 | Radial Clearance |
| Grmax | 0.035 mm | Radial clearance, maximum |
| Grmin | 0 mm | Radial clearance, minimum |
| Tmin | -60 °C | Operating temperature min. |
| Tmax | 250 °C | Operating temperature max. |
| Sealing | Without | |
| Radial internal clearance | CN (Group N) | Normal internal clearance |