PRODUCTS
- Home
- Giới thiệu sản phẩm
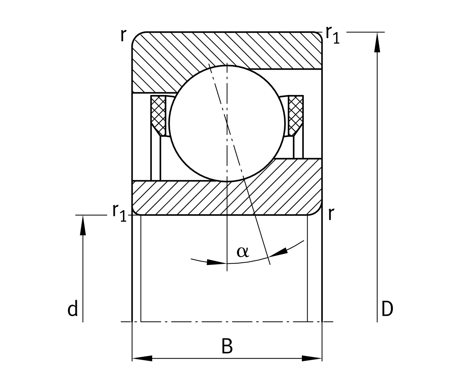
| d | 50 mm | Bore diameter |
| D | 72 mm | Outside diameter |
| B | 12 mm | Width |
| Cr | 31,000 N | Basic dynamic load rating, radial |
| C0r | 9,400 N | Basic static load rating, radial |
| Cur | 480 N | Fatigue load limit, radial |
| nG Grease | 34,000 1/min | Limiting speed for grease lubrication |
| nG Oil | 53,000 1/min | Limiting speed for oil lubrication |
| ≈m | 107 g | Weight |
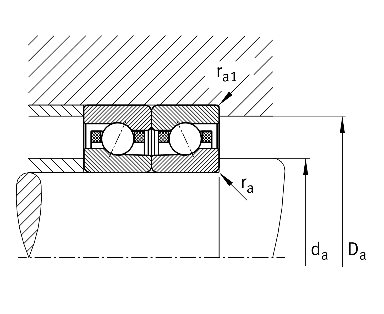
| da | 55 mm | Diameter shaft shoulder |
| da | h12 | Diameter shaft shoulder clearance |
| Da | 67.5 mm | Shoulder diameter outer ring |
| Da | H12 | Shoulder diameter outer ring clearance |
| ra max | 0.6 mm | Maximum recess radius |
| ra1 max | 0.15 mm | Maximum recess radius |
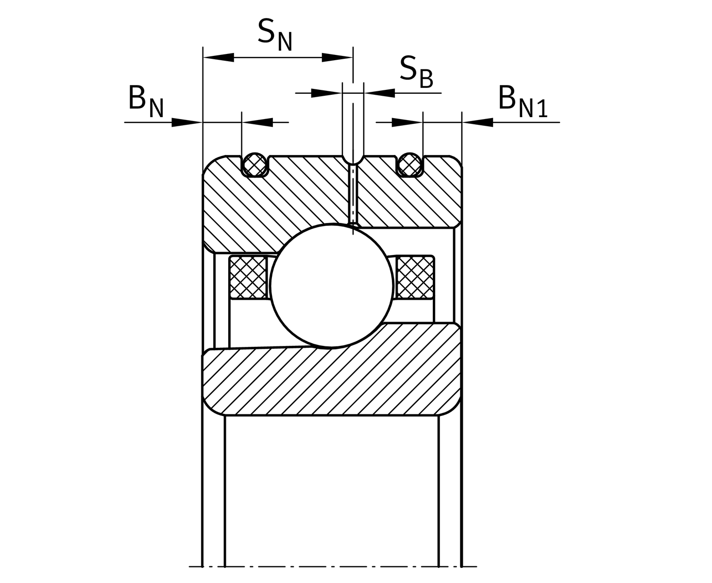
| BN | 2.2 mm | Distance ring grooves |
| BN1 | 1.7 mm | Distance ring grooves |
| SN | 7 mm | Distance to lubrication hole |
| SB | 1.4 mm | Width of lubricating groove |
| a | 15.3 mm | Distance between the apexes of the pressure cones |
| rmin | 0.6 mm | Minimum chamfer dimension |
| r1 min | 0.3 mm | Minimum chamfer dimension |
| α | 17 ° | Contact angle |
| Tmin | -30 °C | Operating temperature min. |
| Tmax | 100 °C | Operating temperature max. |
| FV L | 47 N | Preload force light |
| FV M | 123 N | Preload force medium |
| FV H | 258 N | Preload force heavy |
| KaE L | 135 N | Lift-off force light |
| KaE M | 364 N | Lift-off force medium |
| KaE H | 784 N | Lift-off force heavy |
| ca L | 43 N/µm | Axial rigidity light |
| ca M | 62 N/µm | Axial rigidity medium |
| ca H | 82 N/µm | Axial rigidity heavy |
| Contact angle | C(17°) | Contact angle 17° |
| Lubricant | Without | |
| Sealing | Without | |
| Outer shape | DLR | Direct lubrication, annular slots with O rings |
| Cage | T | Laminated fabric cage |
| Tolerance class | P4S | tolerance class P4S, FAG standard better than P4 to DIN 620 |
| Arrangement bearing set | U | Single bearing |
| Preload | L | preload light |