PRODUCTS

  • Home
  • Giới thiệu sản phẩm

FAG
23040-E1-XL-TVPB
Spherical Roller Bearing 23040-E1-XL-TVPB
Thêm vào yêu cầu báo giá
Main Dimensions & Performance Data
d
200 mm
Bore diameter
D
310 mm
Outside diameter
B
82 mm
Width
Cr
1,270,000 N
Basic dynamic load rating, radial
C0r
1,800,000 N
Basic static load rating, radial
Cur
206,000 N
Fatigue load limit, radial
nG
2,330 1/min
Limiting speed
nϑr
1,550 1/min
Reference speed
≈m
21.275 kg
Weight

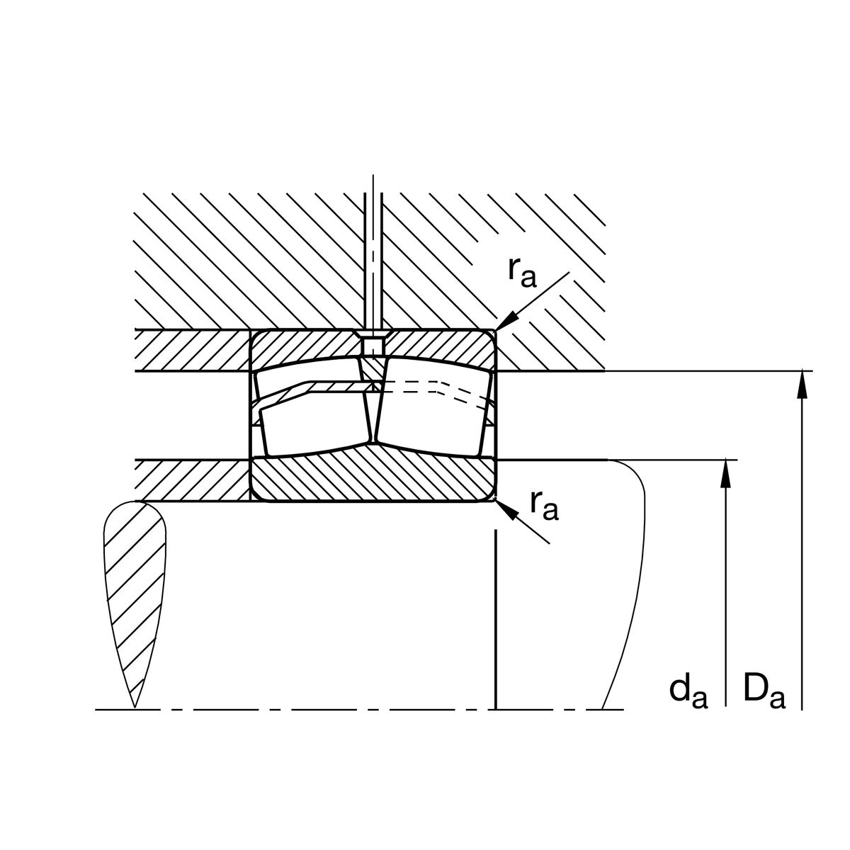
Mounting dimensions
da min
210.2 mm
Minimum diameter shaft shoulder
Da max
299.8 mm
Maximum diameter of housing shoulder
ra max
2.1 mm
Maximum recess radius

Dimensions
rmin
2.1 mm
Minimum chamfer dimension
D1
281.6 mm
Bore diameter outer ring
d2
223.4 mm
Raceway diameter of the inner ring
ds
8 mm
Diameter lubrication hole
ns
15 mm
Width of lubricating groove

Temperature range
Tmin
-30 °C
Operating temperature min.
Tmax
120 °C
Operating temperature max.

Calculation factors
e
0.23
Limiting value of Fa/Fr for the applicability of diff. Values of factors X and Y
Y1
2.9
Dynamic axial load factor
Y2
4.31
Dynamic axial load factor
Y0
2.83
Static axial load factor

Your current product variant
DesignE1without central rip
Bore typeZCylindrical
CageTVPBPlastic cage
Radial internal clearanceCN (Group N)Normal internal clearance
Relubrication featureStandard
Thêm vào yêu cầu báo giá