PRODUCTS

  • Home
  • Giới thiệu sản phẩm

FAG
22344-BE-XL-JPA-T41A
Spherical Roller Bearing 22344-BE-XL-JPA-T41A
Thêm vào yêu cầu báo giá
Main Dimensions & Performance Data
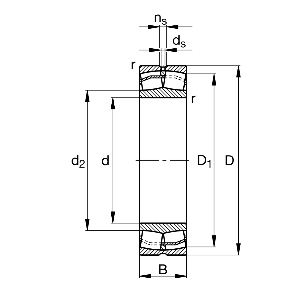
d
220 mm
Bore diameter
D
460 mm
Outside diameter
B
145 mm
Width
Cr
2,800,000 N
Basic dynamic load rating, radial
C0r
3,400,000 N
Basic static load rating, radial
Cur
270,000 N
Fatigue load limit, radial
nG
1,690 1/min
Limiting speed
nϑr
950 1/min
Reference speed
≈m
115.46 kg
Weight

Mounting dimensions
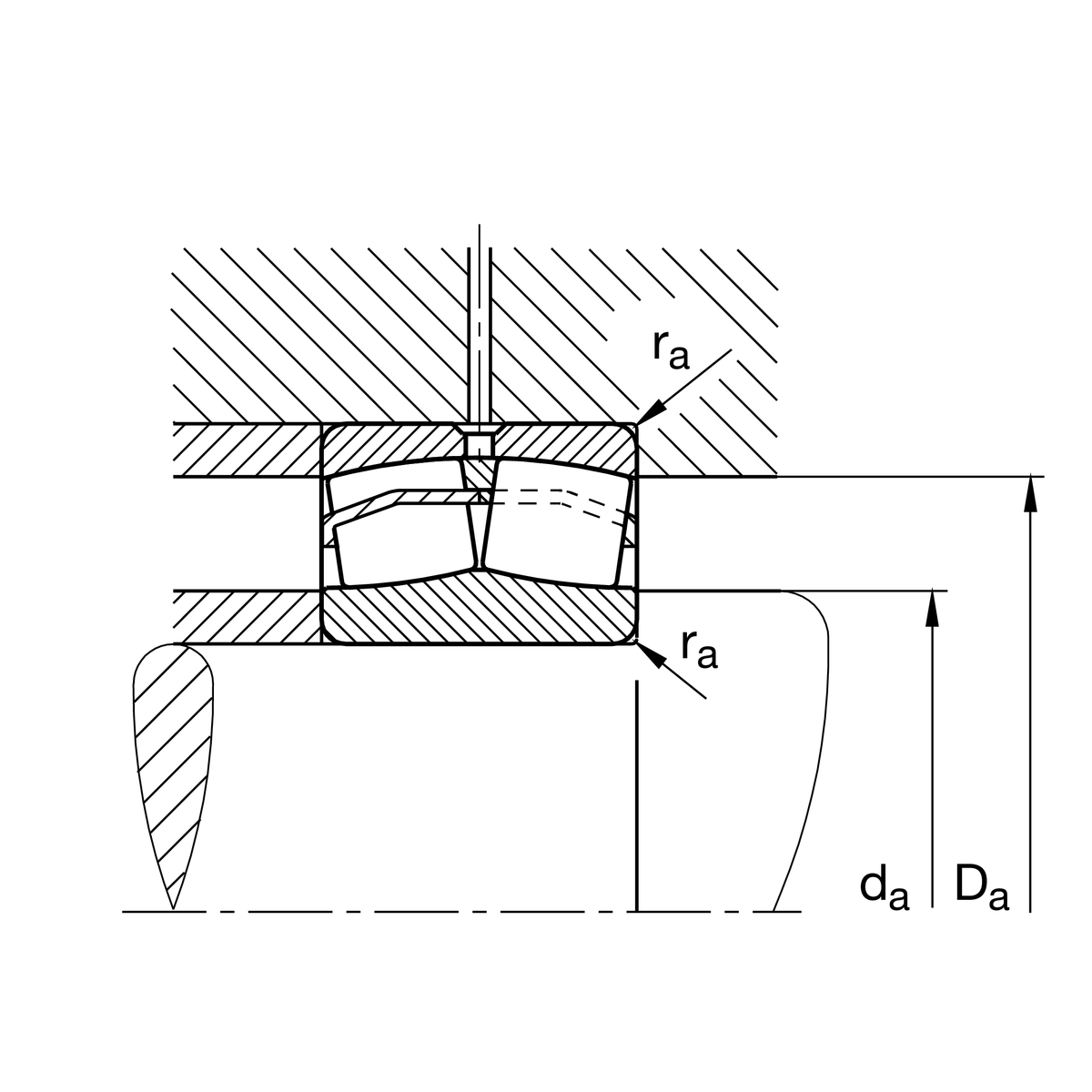
da min
240 mm
Minimum diameter shaft shoulder
Da max
440 mm
Maximum diameter of housing shoulder
ra max
4 mm
Maximum recess radius

Dimensions
rmin
5 mm
Minimum chamfer dimension
D1
391.1 mm
Bore diameter outer ring
d2
273.4 mm
Raceway diameter of the inner ring
ds
12.5 mm
Diameter lubrication hole
ns
23.5 mm
Width of lubricating groove

Temperature range
Tmin
-30 °C
Operating temperature min.
Tmax
200 °C
Operating temperature max.

Calculation factors
e
0.33
Limiting value of Fa/Fr for the applicability of diff. Values of factors X and Y
Y1
2.06
Dynamic axial load factor
Y2
3.06
Dynamic axial load factor
Y0
2.01
Static axial load factor

Your current product variant
DesignBEwith lose center lip ring
Bore typeZCylindrical
CageJPASheet metal cage
Radial internal clearanceC4 (Group 4)Internal clearance larger than C3
Relubrication featureStandard
Spherical roller bearing for vibrating screensT41Afor vibrating screens
Thêm vào yêu cầu báo giá