PRODUCTS
- Home
- Giới thiệu sản phẩm
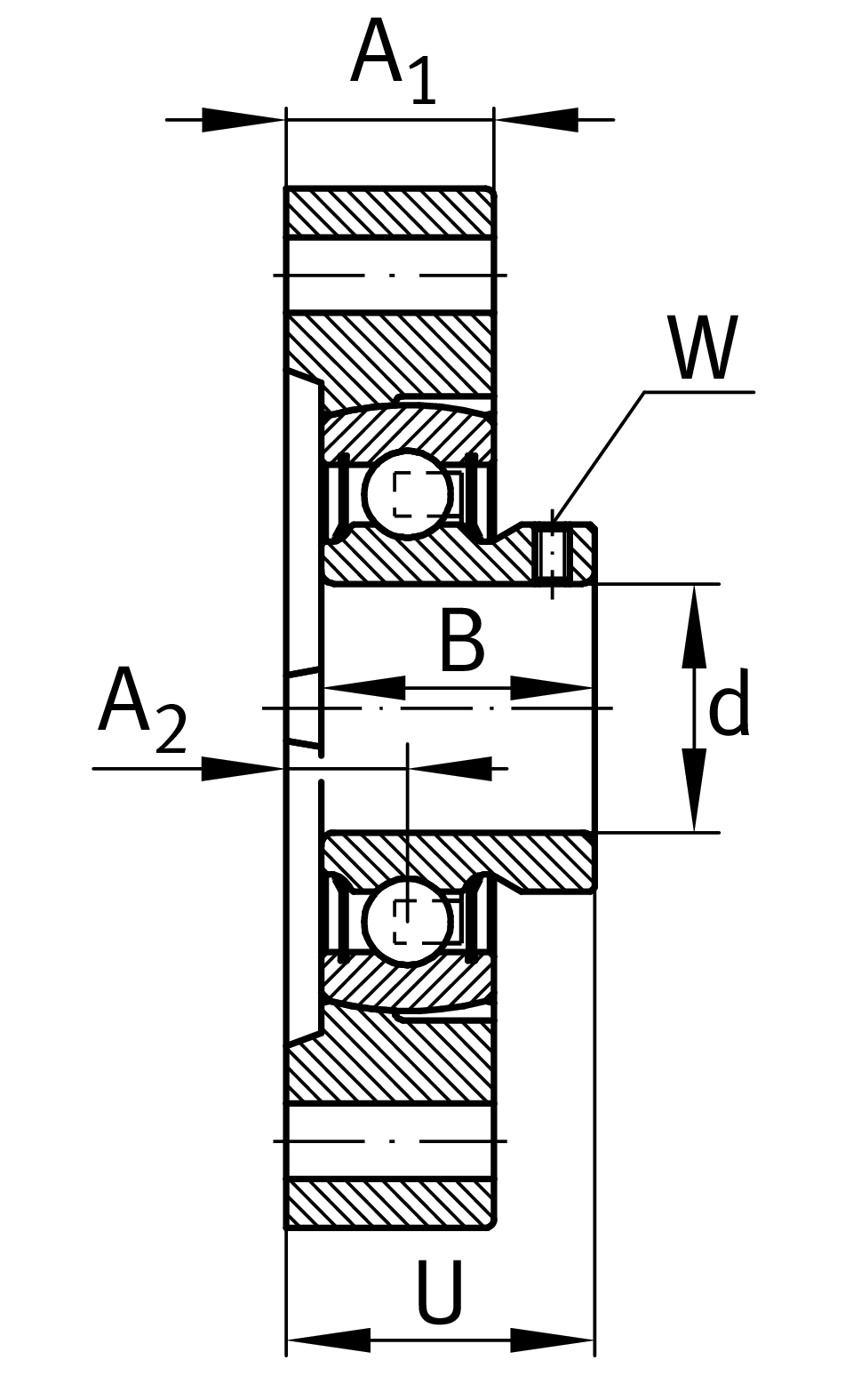
| d | 40 mm | Bore diameter |
| L | 100 mm | Flange width |
| H | 150 mm | Height flange |
| U | 42.5 mm | Total height unit |
| Cr | 32,500 N | Basic dynamic load rating, radial |
| C0r | 19,800 N | Basic static load rating, radial |
| Cur | 910 N | Fatigue load limit, radial |
| ≈m | 1.28 kg | Weight |
| J | 119 mm | Distance fixing bore |
| N | 14 mm | Fixing bore |
| n | 2 | Number of screwing holes |
| A1 | 26 mm | Thickness of flange |
| A2 | 13.5 mm | Distance raceway |
| B | 39.5 mm | Width |
GEHLCTE08-GG-N | Housing | |
GAY40-XL-NPP-B | Bearing designation |
| Tmin | -20 °C | Operating temperature min. |
| Tmax | 100 °C | Operating temperature max. |
| Groove | N | Cast iron housing with undercut slot for end caps |
| Material | GG | Grey cast iron |