PRODUCTS

  • Home
  • Giới thiệu sản phẩm

INA
GAL35-DO-2RS
Rod end GAL35-DO-2RS
Thêm vào yêu cầu báo giá
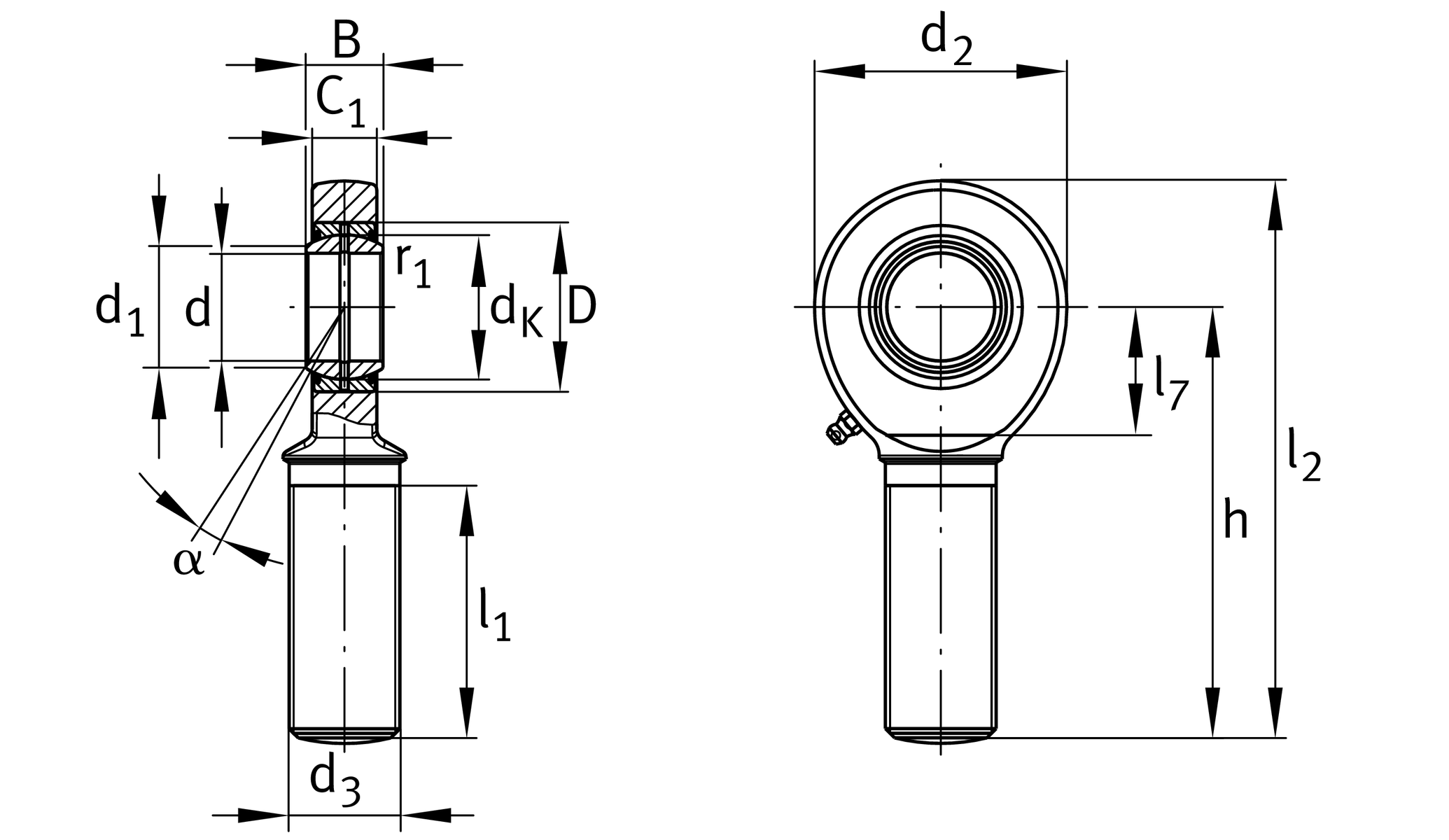
Main Dimensions & Performance Data
Cr
79,900 N
Basic dynamic load rating, radial
C0r
159,000 N
Basic static load rating, radial
d
35 mm
Bore diameter bearing
D
55 mm
Outside diameter bearing
l2
181 mm
Total length external thread head
B
25 mm
Width inner ring
d2
82 mm
Outer eye diameter
≈m
1.462 kg
Weight

Mounting dimensions
d1
39.7 mm
Outer flange diameter inner ring
r1smin
0.6 mm
Edge Spacing

Dimensions
dK
47 mm
Ball diameter
d3
M36x3
Thread size
h
140 mm
Shank Length External thread rod
C1
21 mm
Width of the rod end
α
6 °
Tilt angle
l1
82 mm
Shank Length External thread head
l7
42 mm
Distance drilling with/shaft start
dOT
0 mm
Bore diameter bearing, upper tolerance
dUT
-0.012 mm
Bore diameter bearing, lower tolerance
BOT
0 mm
Width inner ring, upper tolerance
BUT
-0.12 mm
Width inner ring, lower tolerance
Gr
0,037 - 0,1
Radial Clearance
Grmax
0.1 mm
Radial clearance, maximum
Grmin
0.037 mm
Radial clearance, minimum

Temperature range
Tmin
-30 °C
Operating temperature min.
Tmax
130 °C
Operating temperature max.

Your current product variant
Sealing2RSLip seals on both sides
Radial internal clearanceCN (Group N)Normal internal clearance
Thêm vào yêu cầu báo giá