PRODUCTS

  • Home
  • Giới thiệu sản phẩm

FAG
23032-E1-XL-TVPB
Spherical Roller Bearing 23032-E1-XL-TVPB
Thêm vào yêu cầu báo giá
Main Dimensions & Performance Data
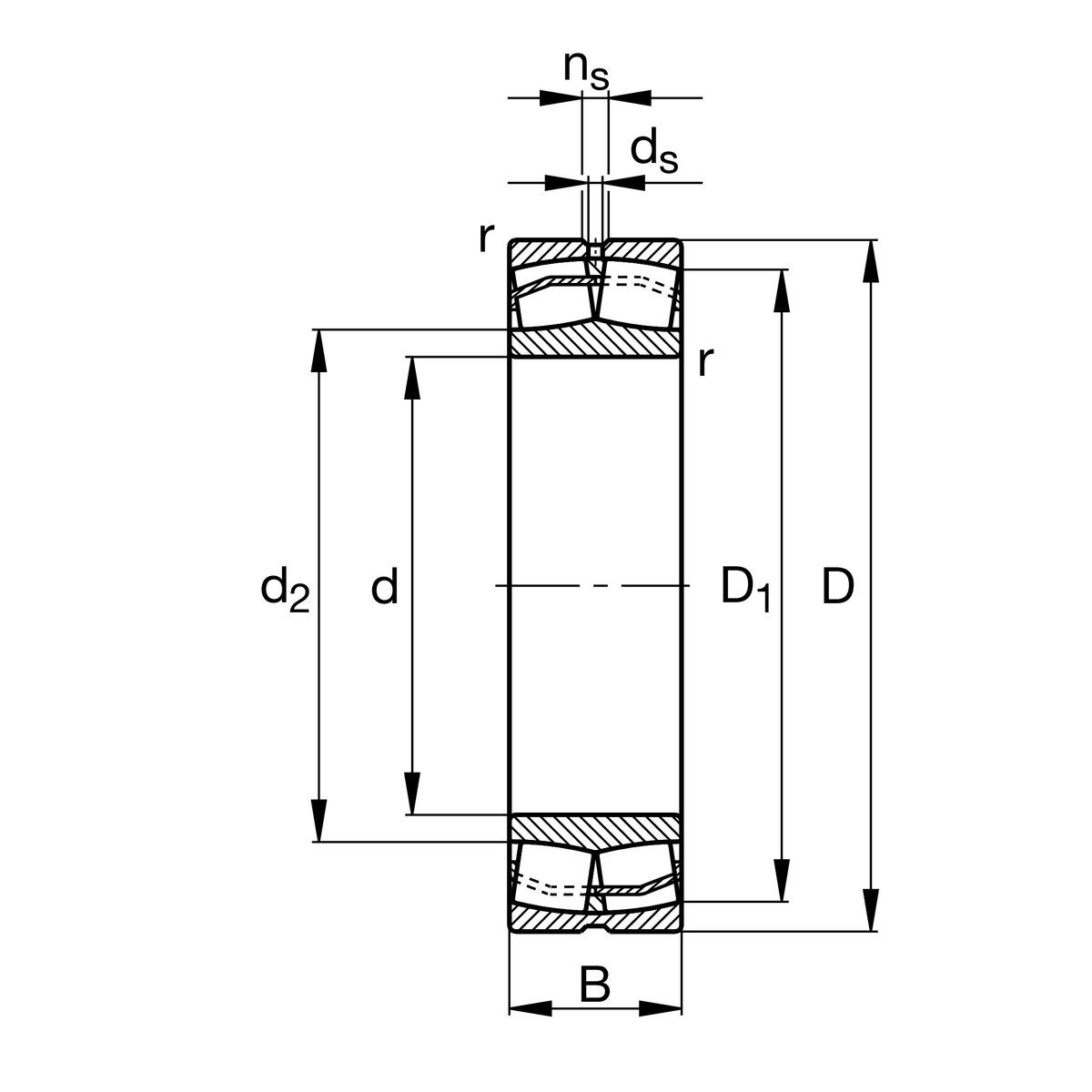
d
160 mm
Bore diameter
D
240 mm
Outside diameter
B
60 mm
Width
Cr
720,000 N
Basic dynamic load rating, radial
C0r
1,010,000 N
Basic static load rating, radial
Cur
98,000 N
Fatigue load limit, radial
nG
3,050 1/min
Limiting speed
nϑr
2,060 1/min
Reference speed
≈m
8.9 kg
Weight

Mounting dimensions
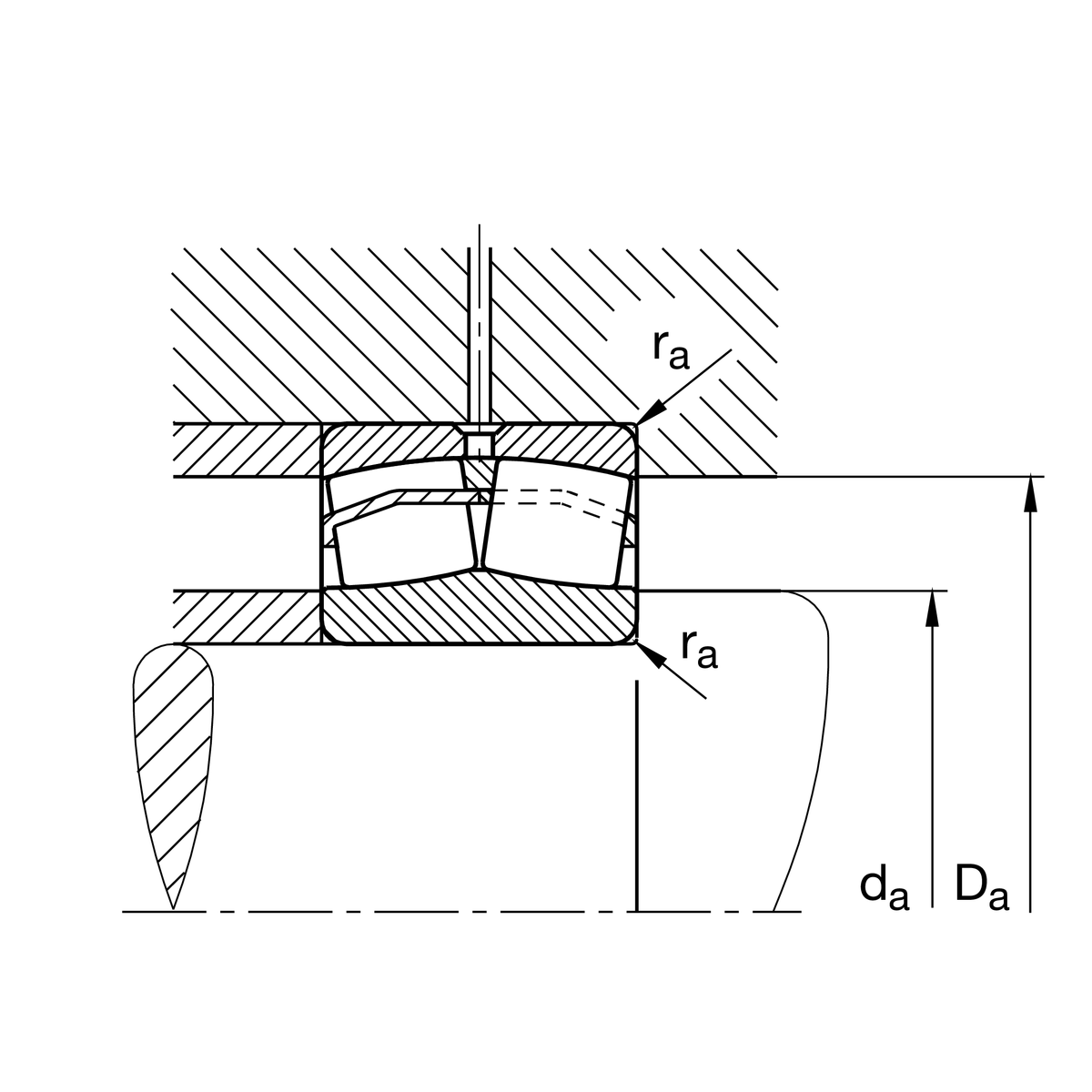
da min
170.2 mm
Minimum diameter shaft shoulder
Da max
229.8 mm
Maximum diameter of housing shoulder
ra max
2.1 mm
Maximum recess radius

Dimensions
rmin
2.1 mm
Minimum chamfer dimension
D1
219.9 mm
Bore diameter outer ring
d2
177.5 mm
Raceway diameter of the inner ring
ds
6.3 mm
Diameter lubrication hole
ns
12.2 mm
Width of lubricating groove

Temperature range
Tmin
-30 °C
Operating temperature min.
Tmax
120 °C
Operating temperature max.

Calculation factors
e
0.22
Limiting value of Fa/Fr for the applicability of diff. Values of factors X and Y
Y1
3.1
Dynamic axial load factor
Y2
4.62
Dynamic axial load factor
Y0
3.03
Static axial load factor

Your current product variant
DesignE1without central rip
Bore typeZCylindrical
CageTVPBPlastic cage
Radial internal clearanceCN (Group N)Normal internal clearance
Relubrication featureStandard
Thêm vào yêu cầu báo giá