PRODUCTS
- Home
- Giới thiệu sản phẩm
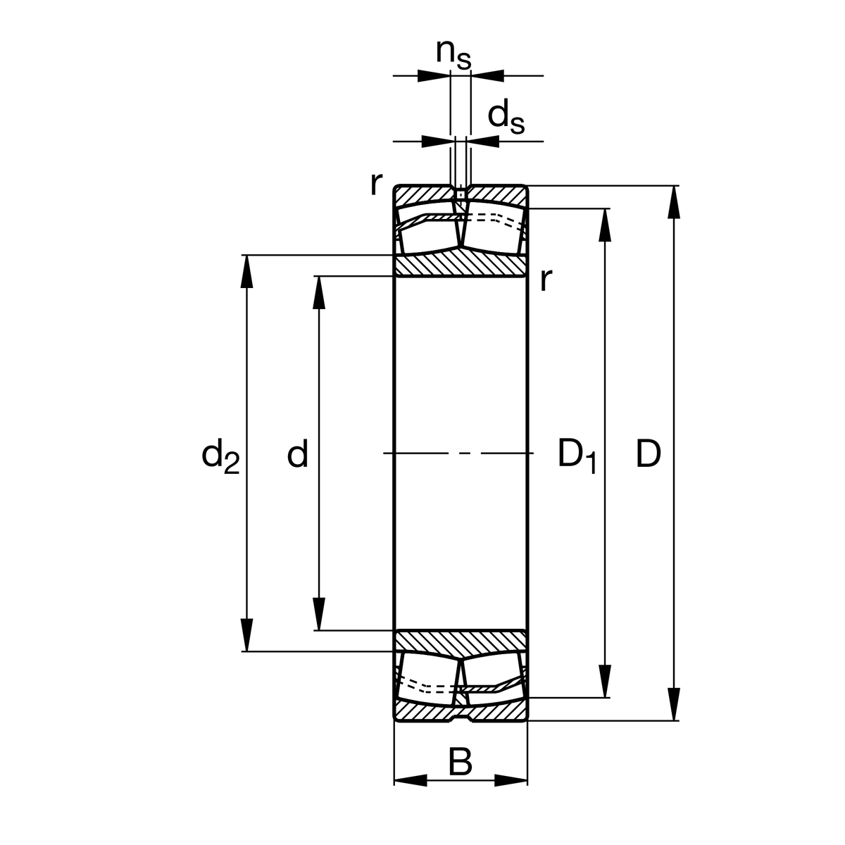
| d | 150 mm | Bore diameter |
| D | 320 mm | Outside diameter |
| B | 108 mm | Width |
| Cr | 1,640,000 N | Basic dynamic load rating, radial |
| C0r | 1,850,000 N | Basic static load rating, radial |
| Cur | 151,000 N | Fatigue load limit, radial |
| nG | 2,290 1/min | Limiting speed |
| nϑr | 1,520 1/min | Reference speed |
| ≈m | 41.335 kg | Weight |
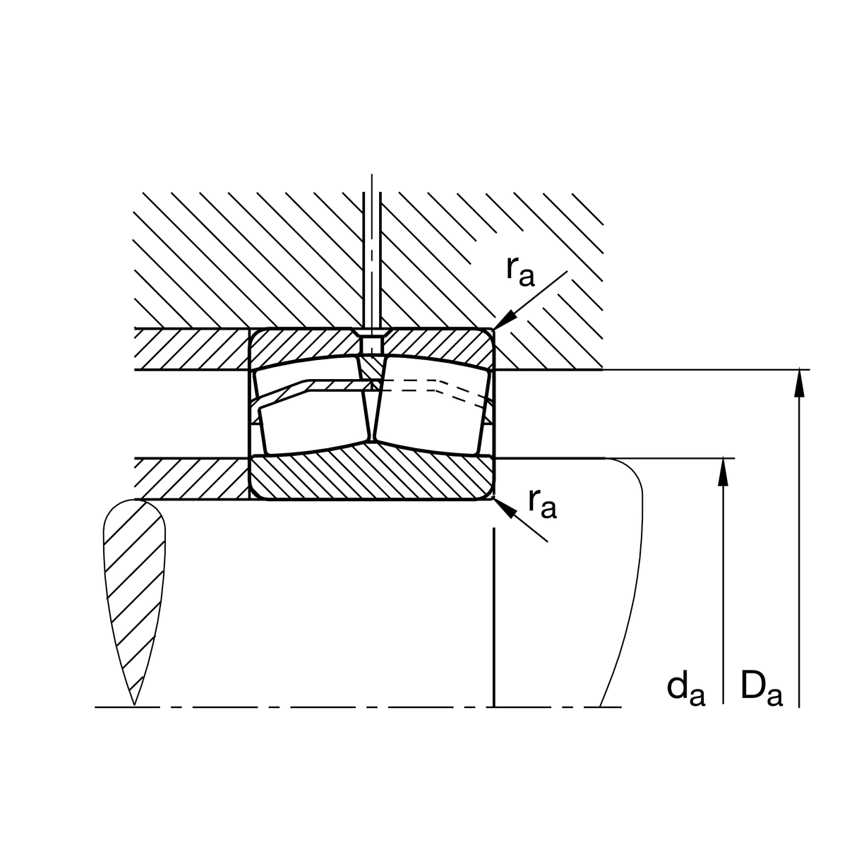
| da min | 167 mm | Minimum diameter shaft shoulder |
| Da max | 303 mm | Maximum diameter of housing shoulder |
| ra max | 3 mm | Maximum recess radius |
| rmin | 4 mm | Minimum chamfer dimension |
| D1 | 273.2 mm | Bore diameter outer ring |
| d2 | 185.3 mm | Raceway diameter of the inner ring |
| ds | 9.5 mm | Diameter lubrication hole |
| ns | 17.7 mm | Width of lubricating groove |
| Tmin | -30 °C | Operating temperature min. |
| Tmax | 200 °C | Operating temperature max. |
| e | 0.33 | Limiting value of Fa/Fr for the applicability of diff. Values of factors X and Y |
| Y1 | 2.02 | Dynamic axial load factor |
| Y2 | 3 | Dynamic axial load factor |
| Y0 | 1.97 | Static axial load factor |
| Design | E1 | without central rip |
| Bore type | Z | Cylindrical |
| Cage | JPA | Sheet metal cage |
| Radial internal clearance | CN (Group N) | Normal internal clearance |
| Relubrication feature | Standard |