PRODUCTS
- Home
- Giới thiệu sản phẩm
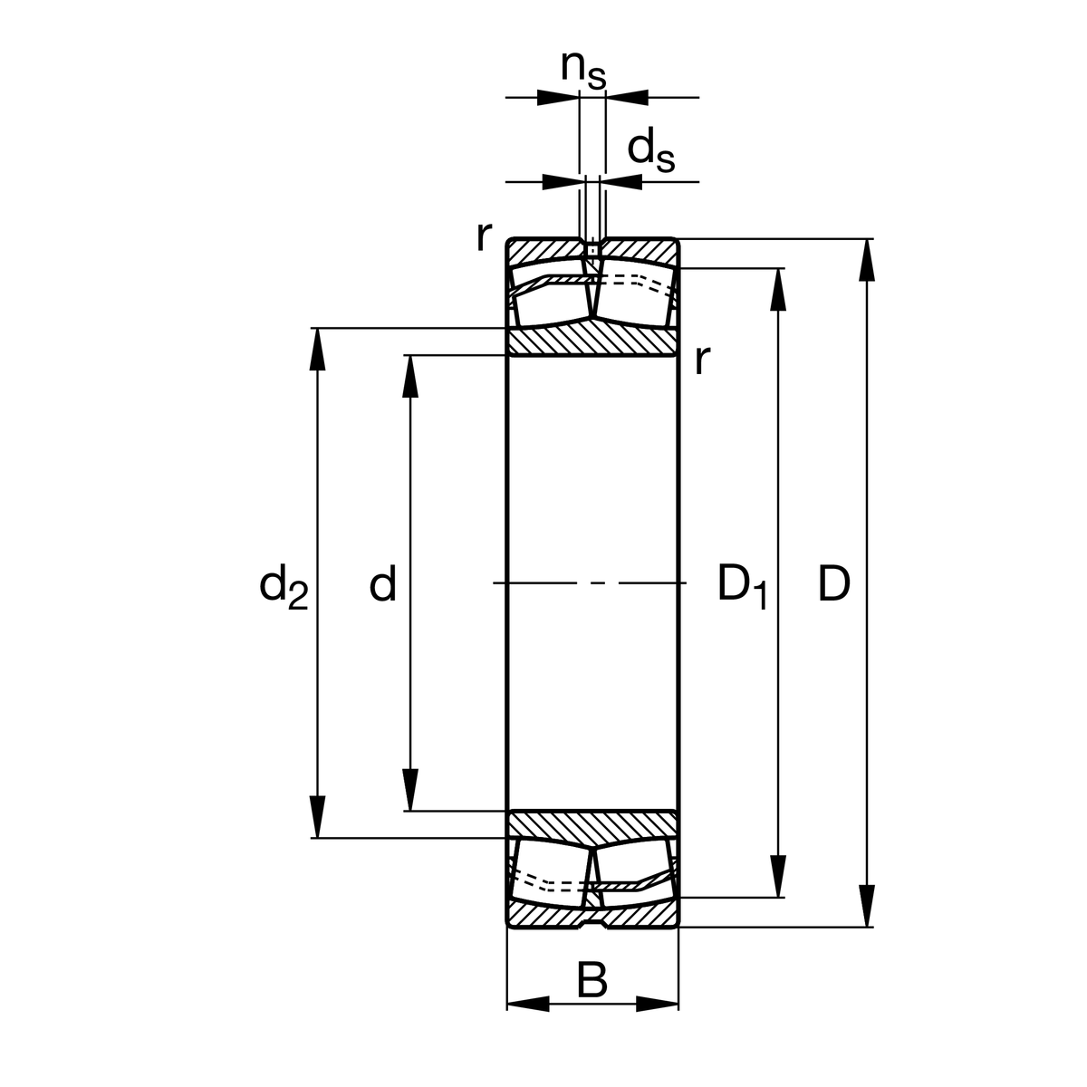
| d | 35 mm | Bore diameter |
| D | 72 mm | Outside diameter |
| B | 23 mm | Width |
| Cr | 89,000 N | Basic dynamic load rating, radial |
| C0r | 81,000 N | Basic static load rating, radial |
| Cur | 9,700 N | Fatigue load limit, radial |
| nG | 10,700 1/min | Limiting speed |
| nϑr | 7,000 1/min | Reference speed |
| ≈m | 0.423 kg | Weight |
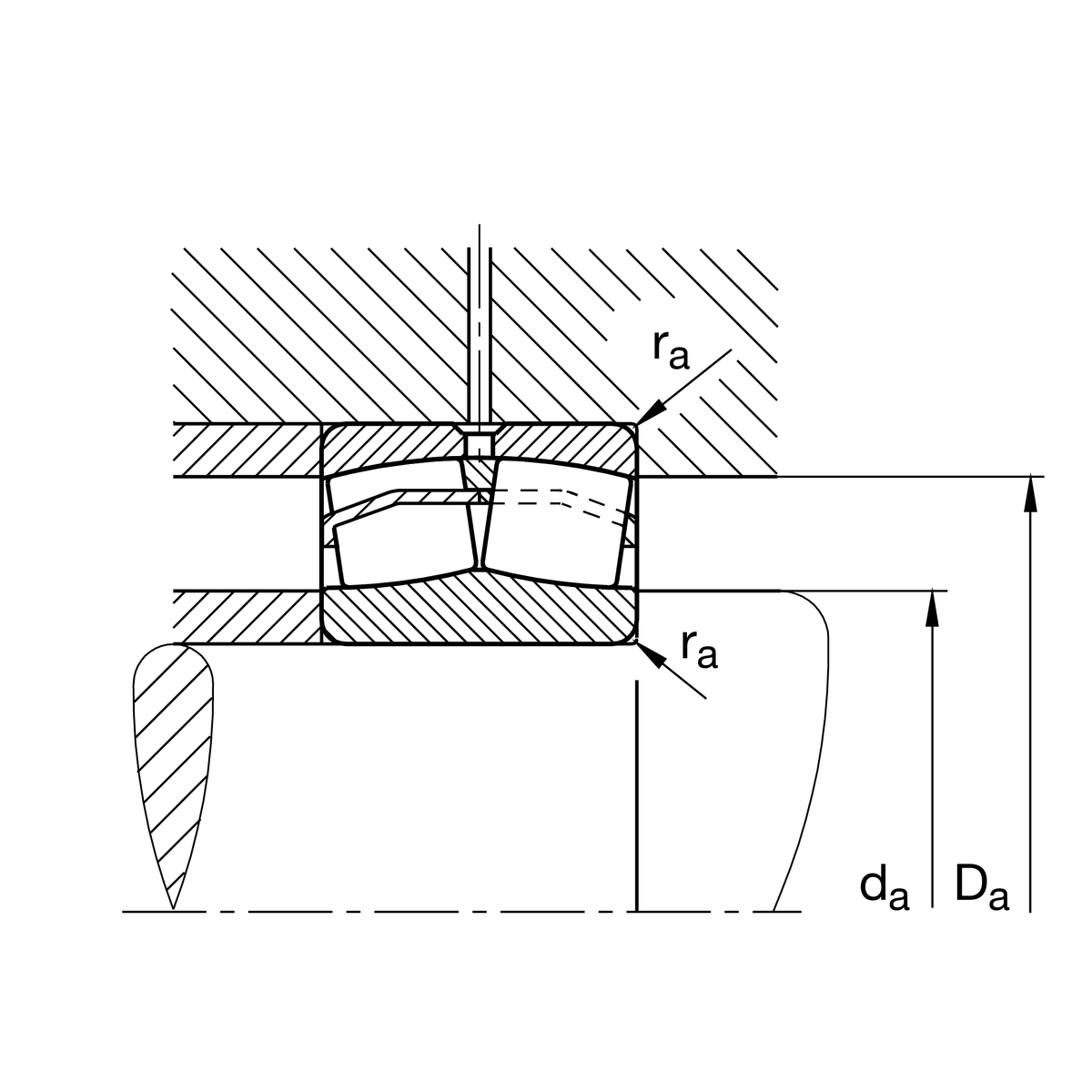
| da min | 42 mm | Minimum diameter shaft shoulder |
| Da max | 65 mm | Maximum diameter of housing shoulder |
| ra max | 1 mm | Maximum recess radius |
| rmin | 1.1 mm | Minimum chamfer dimension |
| D1 | 62.5 mm | Bore diameter outer ring |
| d2 | 43.9 mm | Raceway diameter of the inner ring |
| ds | 3.2 mm | Diameter lubrication hole |
| ns | 4.8 mm | Width of lubricating groove |
| Tmin | -30 °C | Operating temperature min. |
| Tmax | 200 °C | Operating temperature max. |
| e | 0.31 | Limiting value of Fa/Fr for the applicability of diff. Values of factors X and Y |
| Y1 | 2.21 | Dynamic axial load factor |
| Y2 | 3.29 | Dynamic axial load factor |
| Y0 | 2.16 | Static axial load factor |
| Design | E1 | without central rip |
| Bore type | Z | Cylindrical |
| Cage | JPA | Sheet metal cage |
| Relubrication feature | Standard |