PRODUCTS

  • Home
  • Giới thiệu sản phẩm

FAG
23026-E1-XL-TVPB-C4
Spherical Roller Bearing 23026-E1-XL-TVPB-C4
Thêm vào yêu cầu báo giá
Main Dimensions & Performance Data
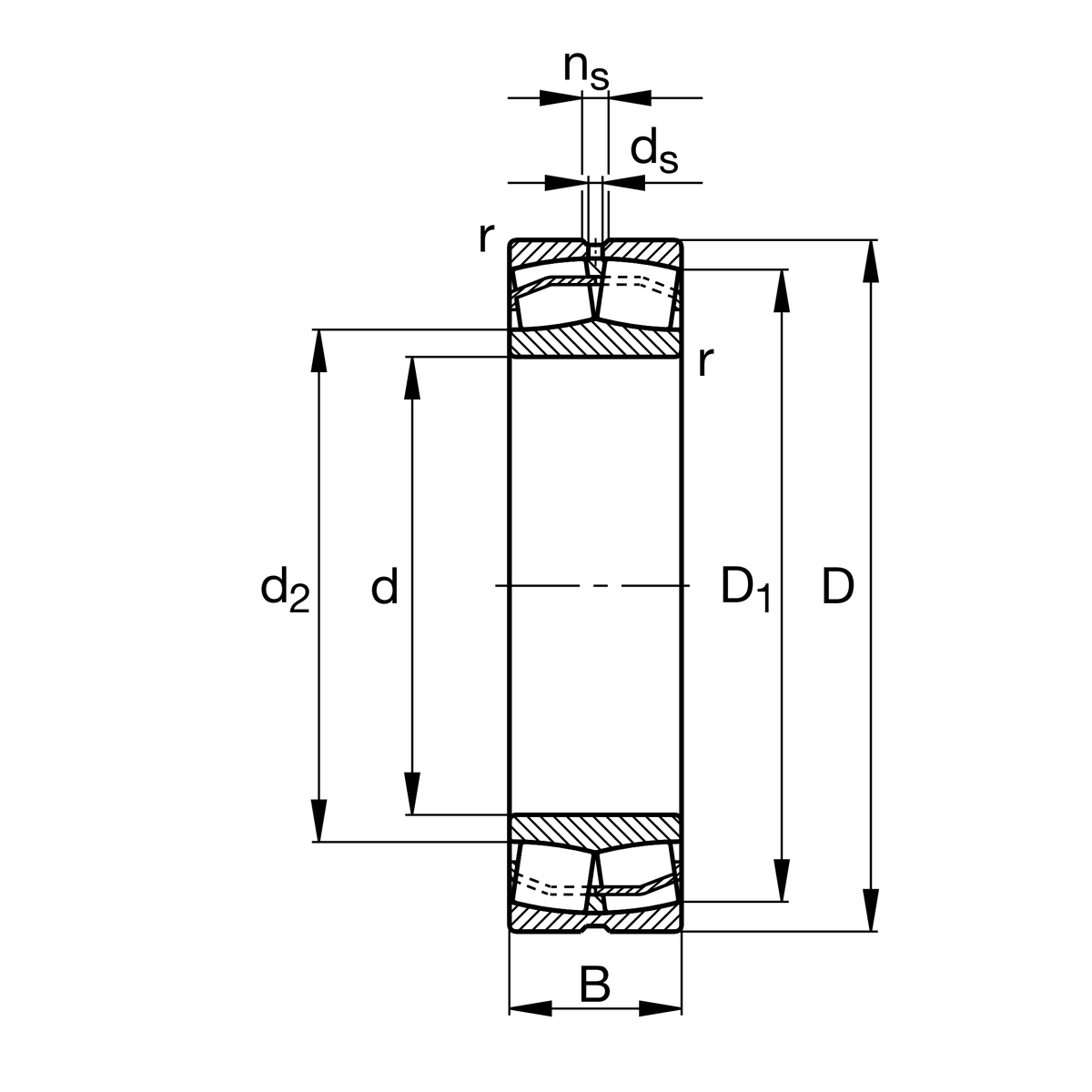
d
130 mm
Bore diameter
D
200 mm
Outside diameter
B
52 mm
Width
Cr
540,000 N
Basic dynamic load rating, radial
C0r
730,000 N
Basic static load rating, radial
Cur
71,000 N
Fatigue load limit, radial
nG
3,600 1/min
Limiting speed
nϑr
2,600 1/min
Reference speed
≈m
5.61 kg
Weight

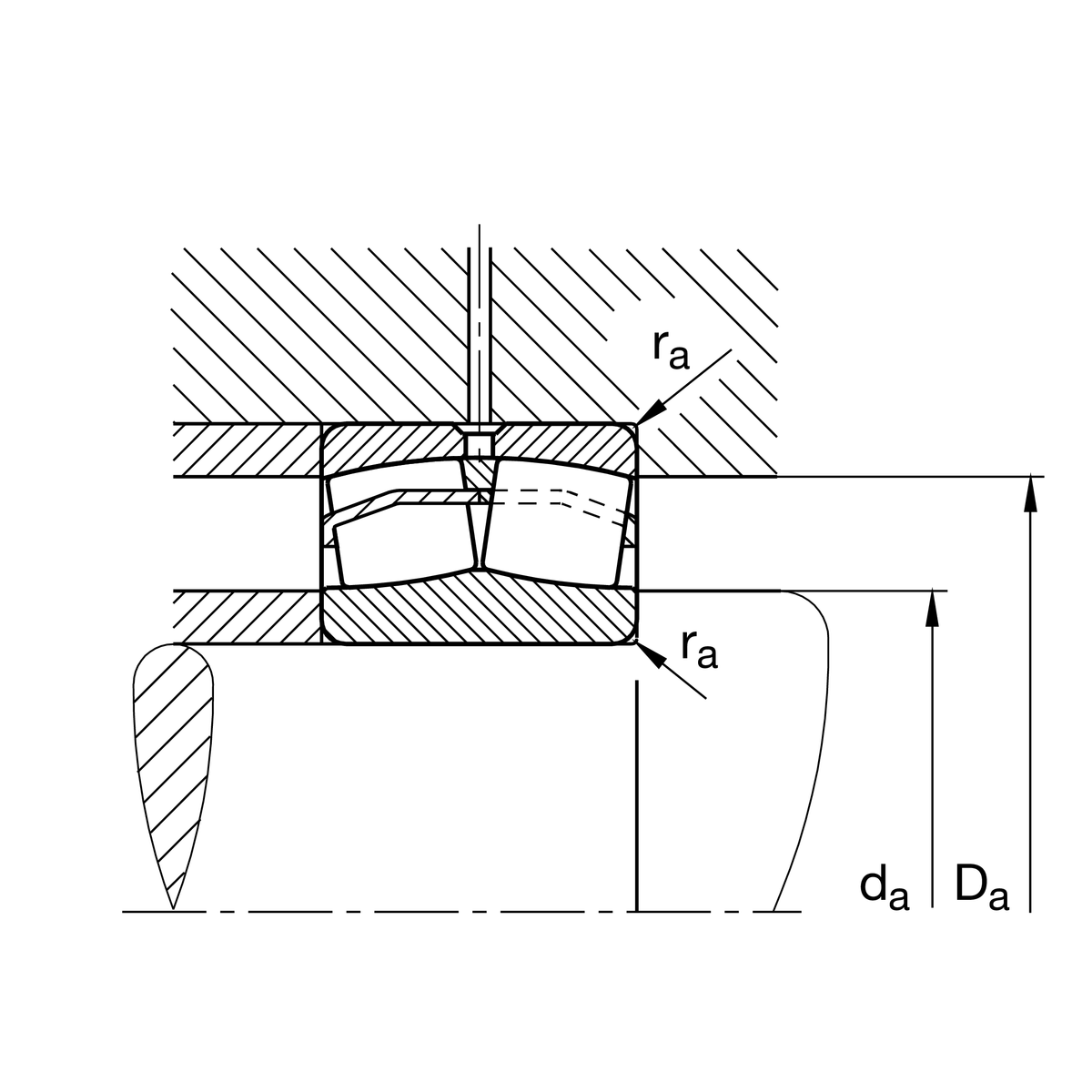
Mounting dimensions
da min
138.8 mm
Minimum diameter shaft shoulder
Da max
191.2 mm
Maximum diameter of housing shoulder
ra max
2 mm
Maximum recess radius

Dimensions
rmin
2 mm
Minimum chamfer dimension
D1
182.3 mm
Bore diameter outer ring
d2
145.9 mm
Raceway diameter of the inner ring
ds
4.8 mm
Diameter lubrication hole
ns
9.5 mm
Width of lubricating groove

Temperature range
Tmin
-30 °C
Operating temperature min.
Tmax
120 °C
Operating temperature max.

Calculation factors
e
0.23
Limiting value of Fa/Fr for the applicability of diff. Values of factors X and Y
Y1
2.95
Dynamic axial load factor
Y2
4.4
Dynamic axial load factor
Y0
2.89
Static axial load factor

Your current product variant
DesignE1without central rip
Bore typeZCylindrical
CageTVPBPlastic cage
Radial internal clearanceC4 (Group 4)Internal clearance larger than C3
Relubrication featureStandard
Thêm vào yêu cầu báo giá