PRODUCTS
- Home
- Giới thiệu sản phẩm
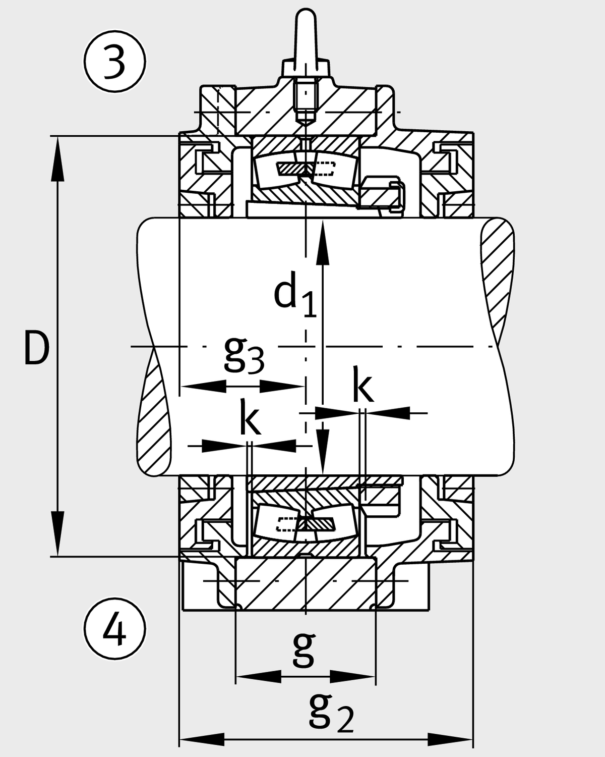
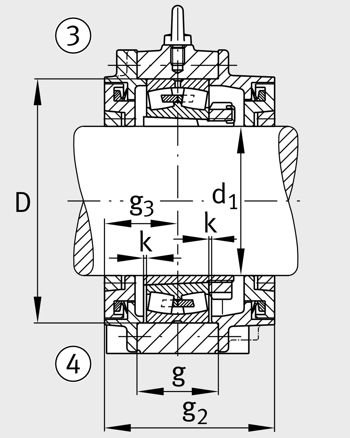
| d1 | 320 mm | Shaft diameter |
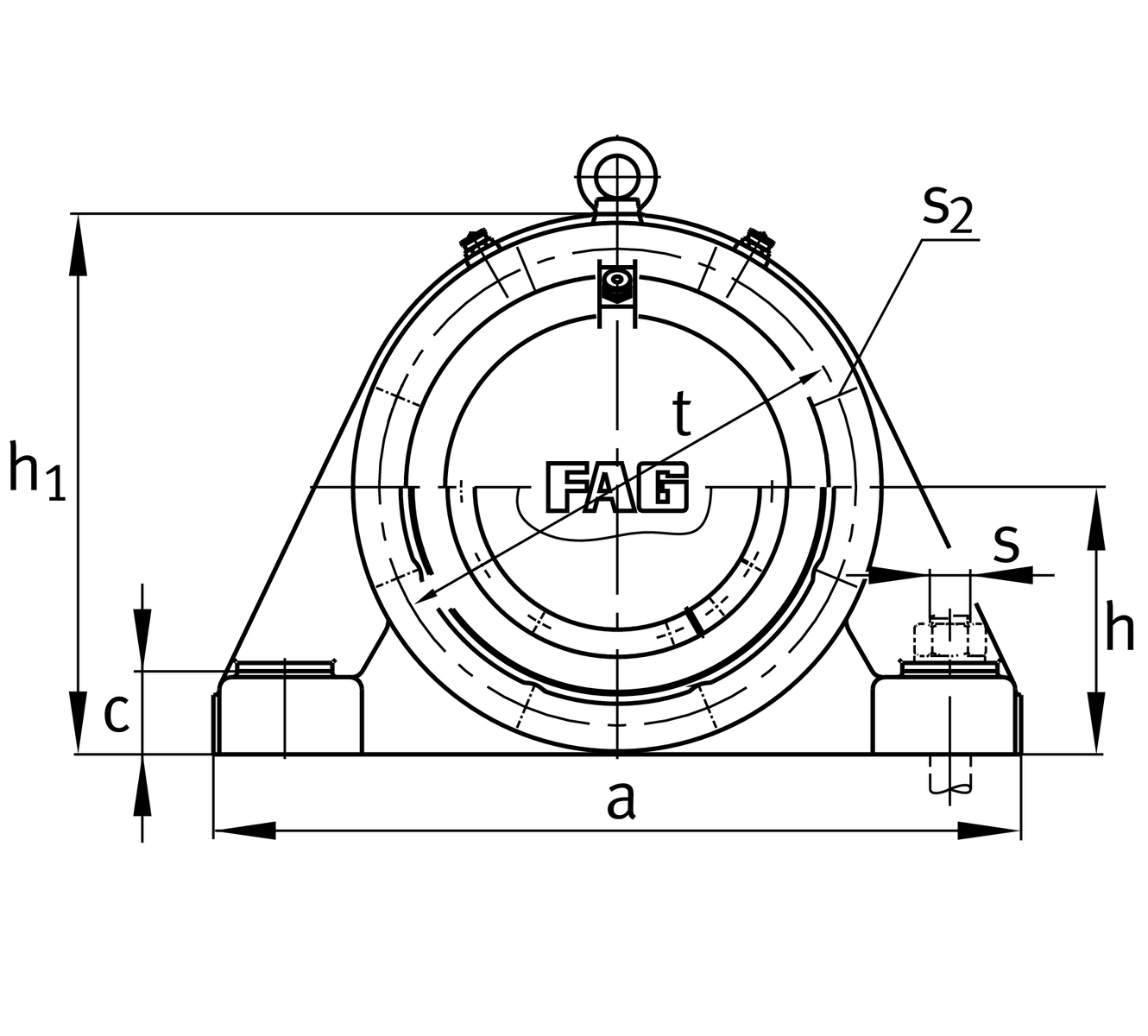
| a | 1,150 mm | Length base |
| h1 | 745 mm | Total height |
| g1 | 373 mm | Total width with lid g1 |
| g2 | 421 mm | Total width with lid g2 |
| ≈m | 520 kg | Weight |
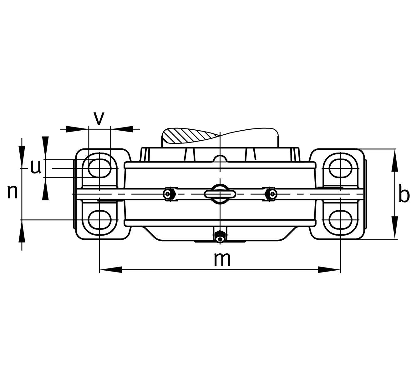
| b | 360 mm | Width base |
| c | 115 mm | Height base foot |
| D | 580 mm | Outside Diameter |
| g | 220 mm | Width housing body |
| g3 | 183 mm | Locking collar width g3 |
| g4 | 178 mm | Locking collar width g4 |
| h | 370 mm | Distance shaft axis |
| k | 5 mm | Axial displacement |
| m | 960 mm | Distance fixing bore |
| n | 200 mm | Bore distance width |
| s | M48 | Size of fixing screws |
| s2 | M24 | Thread fixing bore |
| s2 | 8 | Number of screwing holes |
| t | 640 mm | Pitch circle dia fixing holes |
| u | 56 mm | Width oblong holes |
| v | 75 mm | Lenght oblong hole |
H3168-HG | Adaptive Sleeve | |
23168..-K | Bearing designation |
| Tmin | -20 °C | Operating temperature min. |
| Tmax | 100 °C | Operating temperature max. |