PRODUCTS

  • Home
  • Giới thiệu sản phẩm

INA
BKE.TKVD45-H-SO
Braking/clamping element BKE.TKVD45-H-SO
Thêm vào yêu cầu báo giá
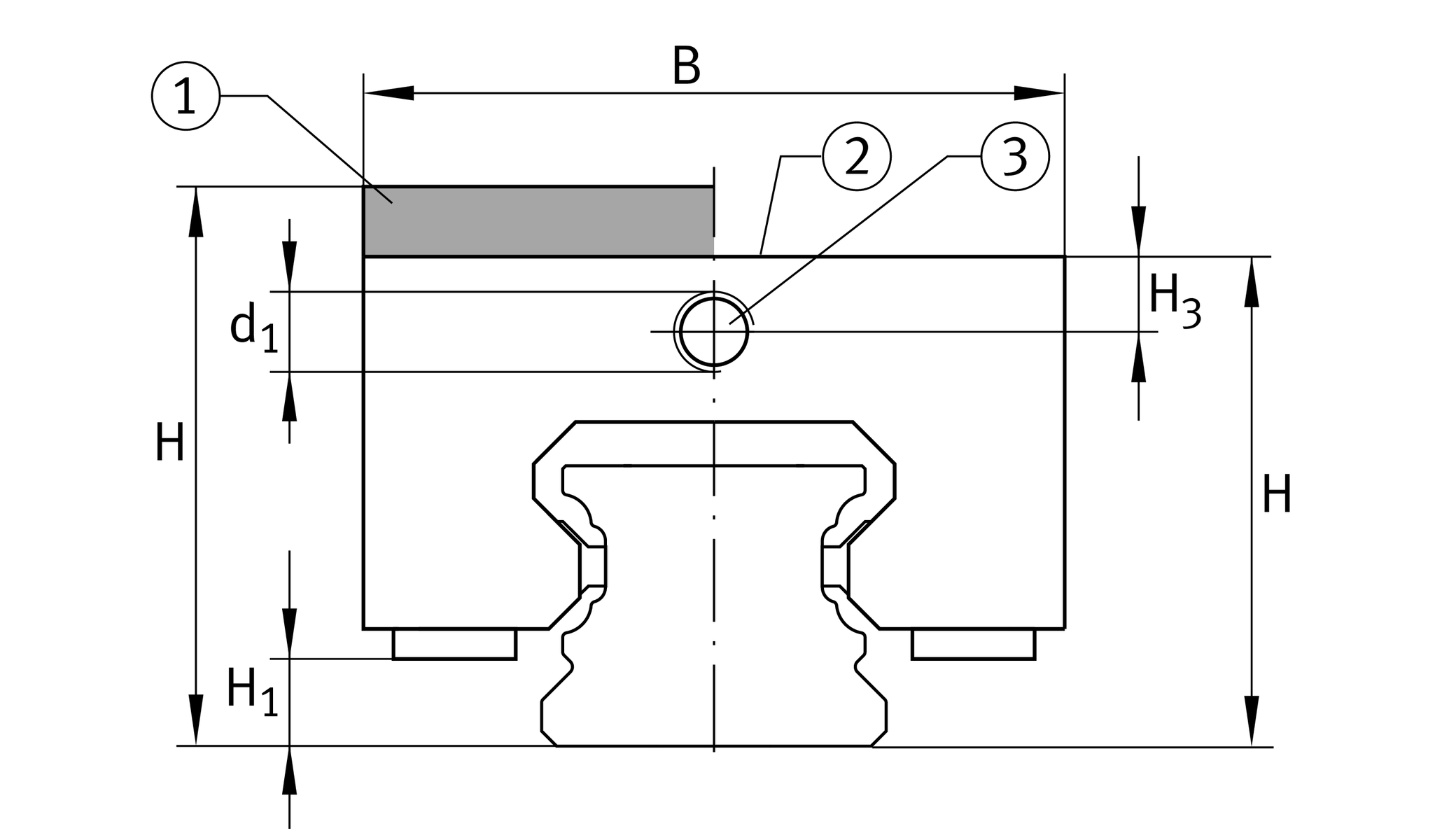
Main Dimensions & Performance Data
H
70 mm
height sytem
with
adapter plate
B
85 mm
width of braking and clamping element
L
141 mm
length braking and clamping element
4,300 N
clamping force 1
≈m
5.2 kg
Weight

Dimensions
JB
70 mm
hole pattern
JC
60 mm
hole pattern
A1
15 mm
distance
JL
113 mm
hole pattern
C7
0 mm
distance
H1
13 mm
space (system)
H3
10 mm
mounting dimension
AL2
5 mm
distance
d1
M8x1
size thread
SO
7x1,5
O-ring 2
6 mm
max. diameter of the oil feed hole
G2
M10
size thread above for DIN ISO 4762-12.9
MA
83 Nm
tightening torque above 3

Your current product variant
Size code45
DesignH
Oil connectorSOOil feed from above
Thêm vào yêu cầu báo giá