PRODUCTS

  • Home
  • Giới thiệu sản phẩm

INA
BKE.TKVD35-H
Braking/clamping element BKE.TKVD35-H
Thêm vào yêu cầu báo giá
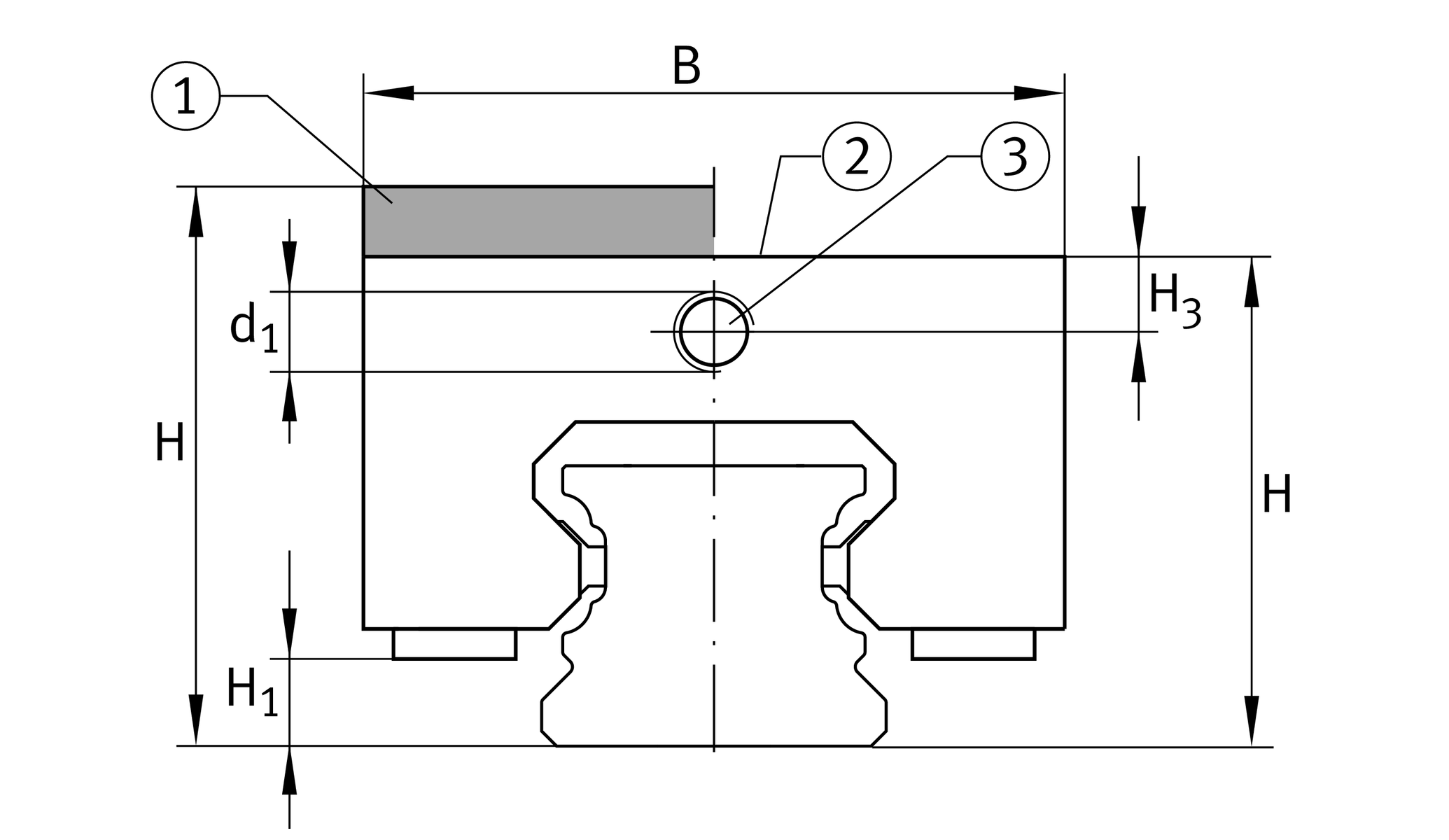
Main Dimensions & Performance Data
H
55 mm
height sytem
with
adapter plate
B
69 mm
width of braking and clamping element
L
120 mm
length braking and clamping element
2,800 N
clamping force 1
≈m
2.14 kg
Weight

Dimensions
JB
58 mm
hole pattern
JC
48 mm
hole pattern
A1
13.5 mm
distance
JL
100 mm
hole pattern
H1
7.9 mm
space (system)
H3
8.1 mm
mounting dimension
AL2
5 mm
distance
d1
M8x1
size thread
G2
M8
size thread above for DIN ISO 4762-12.9
MA
42.2 Nm
tightening torque above 2

Your current product variant
Size code35
DesignH
Thêm vào yêu cầu báo giá