PRODUCTS
- Home
- Giới thiệu sản phẩm
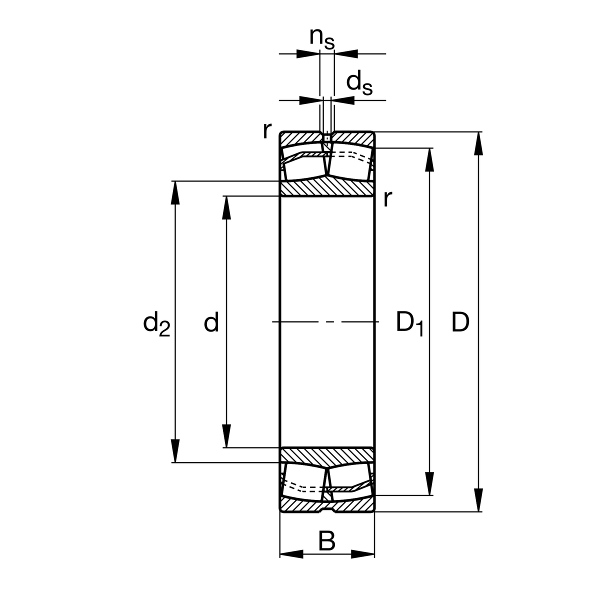
| d | 100 mm | Bore diameter |
| D | 180 mm | Outside diameter |
| B | 46 mm | Width |
| Cr | 430,000 N | Basic dynamic load rating, radial |
| C0r | 475,000 N | Basic static load rating, radial |
| Cur | 53,000 N | Fatigue load limit, radial |
| nG | 4,550 1/min | Limiting speed |
| nϑr | 3,150 1/min | Reference speed |
| ≈m | 4.95 kg | Weight |
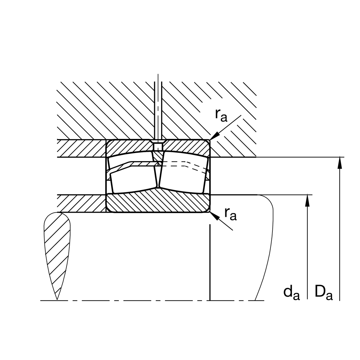
| da min | 112 mm | Minimum diameter shaft shoulder |
| Da max | 168 mm | Maximum diameter of housing shoulder |
| ra max | 2.1 mm | Maximum recess radius |
| rmin | 2.1 mm | Minimum chamfer dimension |
| D1 | 161.4 mm | Bore diameter outer ring |
| d2 | 119 mm | Raceway diameter of the inner ring |
| ds | 4.8 mm | Diameter lubrication hole |
| ns | 9.5 mm | Width of lubricating groove |
| Tmin | -30 °C | Operating temperature min. |
| Tmax | 200 °C | Operating temperature max. |
| e | 0.24 | Limiting value of Fa/Fr for the applicability of diff. Values of factors X and Y |
| Y1 | 2.84 | Dynamic axial load factor |
| Y2 | 4.23 | Dynamic axial load factor |
| Y0 | 2.78 | Static axial load factor |
| Design | E1 | without central rip |
| Bore type | Z | Cylindrical |
| Cage | JPA | Sheet metal cage |
| Radial internal clearance | C2 (Group 2) | Internal clearance smaller than CN |
| Relubrication feature | Standard |