PRODUCTS
- Home
- Giới thiệu sản phẩm
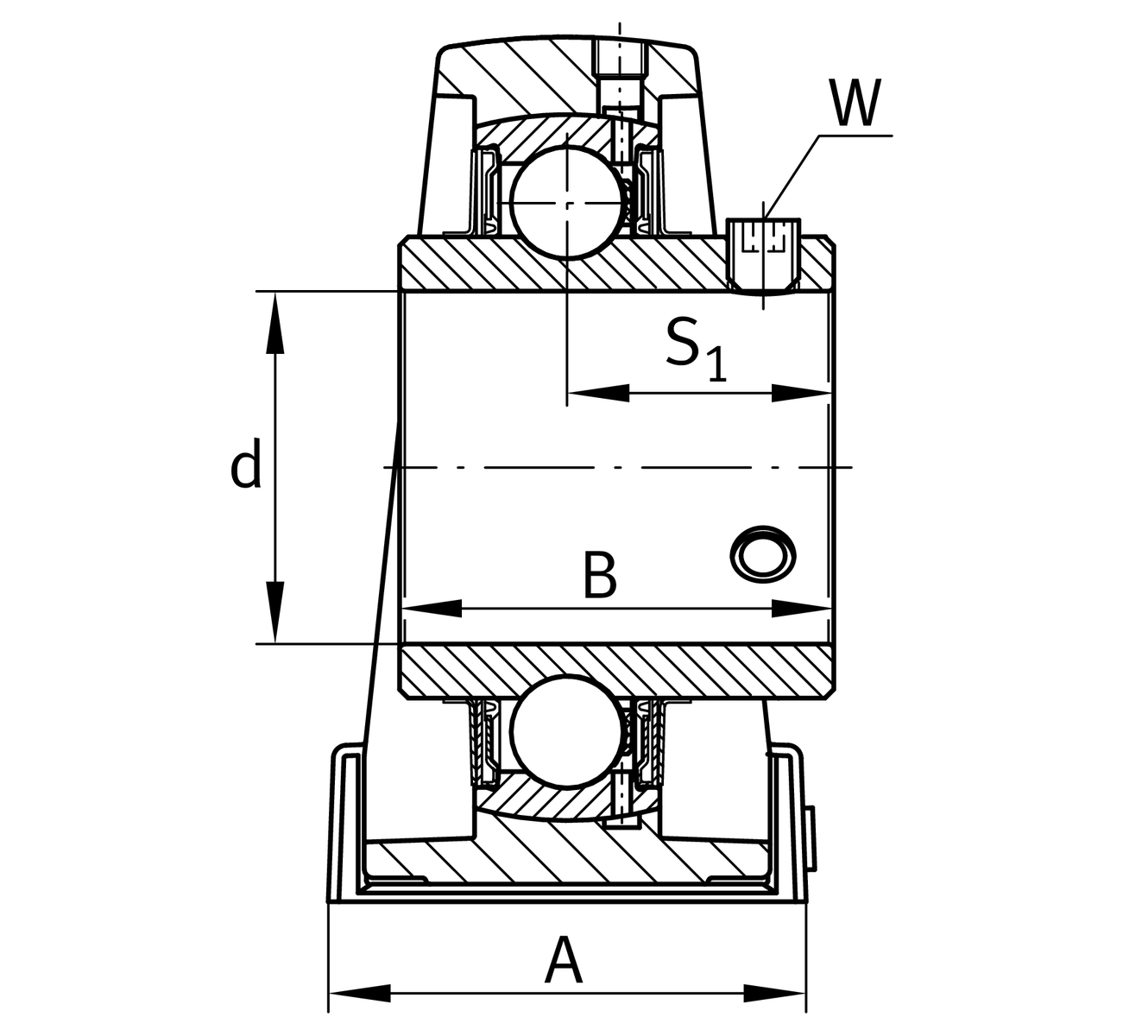
| d | 71.438 mm | Bore diameter |
| L | 275 mm | Length total |
| H2 | 163 mm | Height |
| ≈m | 6.9 kg | Weight |
| J | 217 mm | Distance fixing bore |
| N | 25 mm | Width (slot) |
| N1 | 31 mm | Length (slot) |
| H | 82.6 mm | Distance shaft axis |
| A | 74 mm | Width (base) |
| H1 | 28 mm | Heigth (base) |
| B | 77.8 mm | Width |
| S1 | 44.5 mm | Distance of raceway to locking collar |
| Q | M6 | Connection thread for lubrication |
P215 | Housing | |
UC215-45 | Bearing designation |
| Tmin | -20 °C | Operating temperature min. |
| Tmax | 120 °C | Operating temperature max. |
| Material | GG | Grey cast iron |
| Housing clearance | J7 | Normal swivel torque |