PRODUCTS
- Home
- Giới thiệu sản phẩm
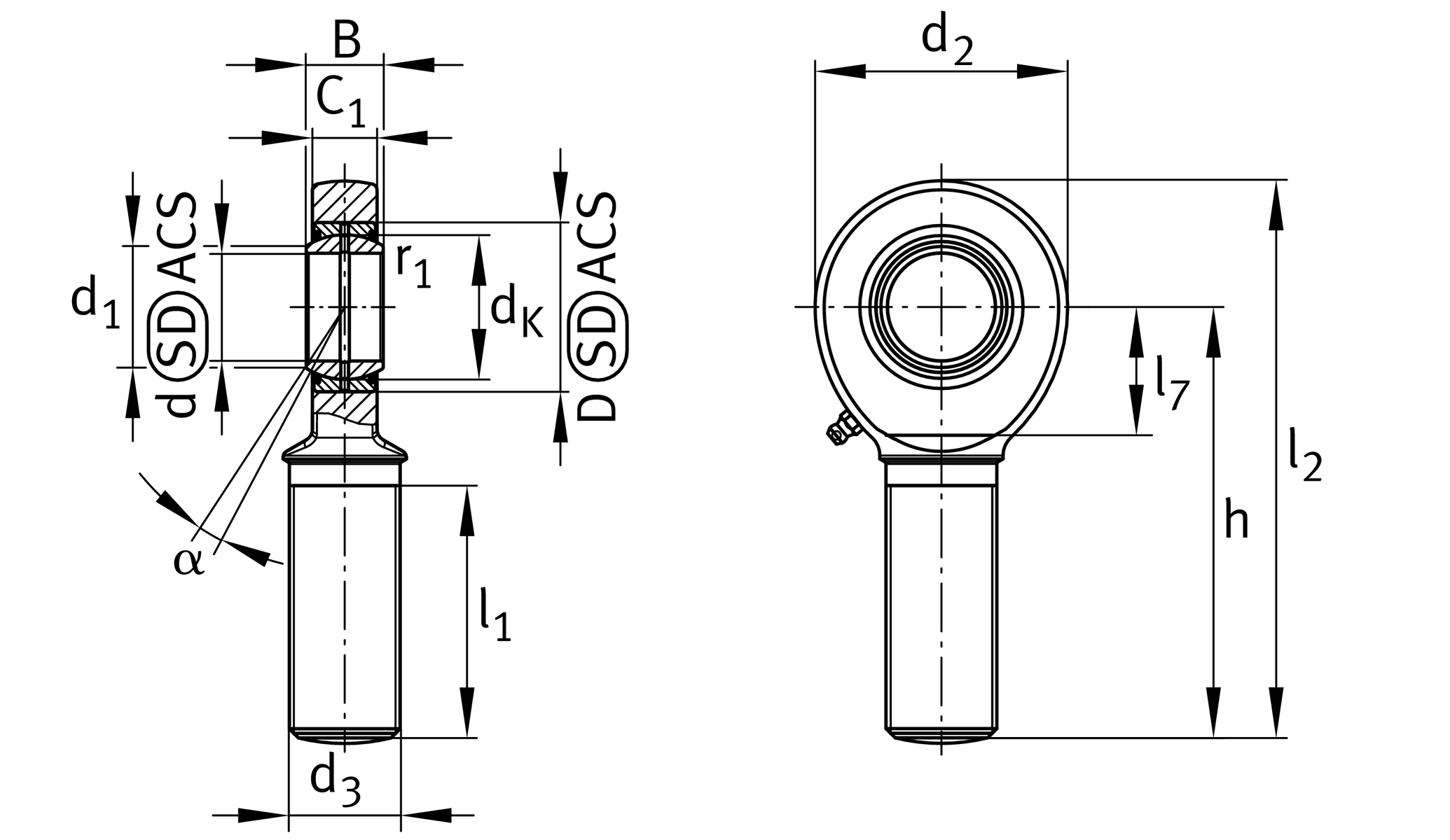
| Cr | 504,000 N | Basic dynamic load rating, radial |
| C0r | 667,000 N | Basic static load rating, radial |
| d | 80 mm | Bore diameter bearing |
| D | 120 mm | Outside diameter bearing |
| l2 | 360 mm | Total length external thread head |
| B | 55 mm | Width inner ring |
| d2 | 180 mm | Outer eye diameter |
| ≈m | 12.7 kg | Weight |
| d1 | 89.4 mm | Outer flange diameter inner ring |
| r1smin | 1 mm | Edge Spacing |
| dK | 105 mm | Ball diameter |
| d3 | M64x4 | Thread size |
| h | 270 mm | Shank Length External thread rod |
| C1 | 47 mm | Width of the rod end |
| α | 6 ° | Tilt angle |
| l1 | 140 mm | Shank Length External thread head |
| l7 | 100 mm | Distance drilling with/shaft start |
| dOT | 0 mm | Bore diameter bearing, upper tolerance |
| dUT | -0.015 mm | Bore diameter bearing, lower tolerance |
| BOT | 0 mm | Width inner ring, upper tolerance |
| BUT | -0.15 mm | Width inner ring, lower tolerance |
| Gr | 0,055 - 0,142 mm | Radial Clearance |
| Grmax | 0.142 mm | Radial clearance, maximum |
| Grmin | 0.053 mm | Radial clearance, minimum |
| Tmin | -30 °C | Operating temperature min. |
| Tmax | 130 °C | Operating temperature max. |
| Sealing | 2RS | Lip seals on both sides |
| Radial internal clearance | CN (Group N) | Normal internal clearance |