PRODUCTS
- Home
- Giới thiệu sản phẩm
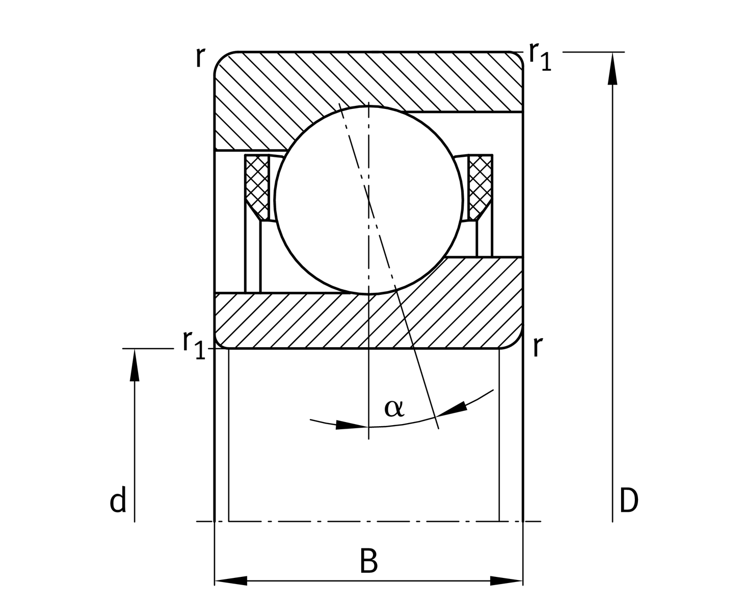
| d | 110 mm | Bore diameter |
| D | 150 mm | Outside diameter |
| B | 20 mm | Width |
| Cr | 95,000 N | Basic dynamic load rating, radial |
| C0r | 37,500 N | Basic static load rating, radial |
| Cur | 1,670 N | Fatigue load limit, radial |
| nG Grease | 16,000 1/min | Limiting speed for grease lubrication |
| nG Oil | 22,000 1/min | Limiting speed for oil lubrication |
| ≈m | 0.72 kg | Weight |
| da | 117 mm | Diameter shaft shoulder |
| da | h12 | Diameter shaft shoulder clearance |
| Da | 143 mm | Shoulder diameter outer ring |
| Da | H12 | Shoulder diameter outer ring clearance |
| ra max | 0.6 mm | Maximum recess radius |
| ra1 max | 0.6 mm | Maximum recess radius |
| Etk min | 123.3 mm | Minimum diameter injection pitch |
| Etk max | 126.5 mm | Maximum diameter injection pitch |
| Etk1 min | 119.1 mm | Minimum diameter injection pitch |
| Etk1 max | 126.5 mm | Maximum diameter injection pitch |
| a | 29.9 mm | Distance between the apexes of the pressure cones |
| rmin | 1.1 mm | Minimum chamfer dimension |
| r1 min | 0.6 mm | Minimum chamfer dimension |
| α | 17 ° | Contact angle |
| Tmin | -30 °C | Operating temperature min. |
| Tmax | 100 °C | Operating temperature max. |
| FV L | 185 N | Preload force light |
| FV M | 486 N | Preload force medium |
| FV H | 1,019 N | Preload force heavy |
| KaE L | 536 N | Lift-off force light |
| KaE M | 1,442 N | Lift-off force medium |
| KaE H | 3,103 N | Lift-off force heavy |
| ca L | 96 N/µm | Axial rigidity light |
| ca M | 137 N/µm | Axial rigidity medium |
| ca H | 184 N/µm | Axial rigidity heavy |
| Contact angle | C(17°) | Contact angle 17° |
| Lubricant | Without | |
| Sealing | Without | |
| Outer shape | Standard | |
| Cage | T | Laminated fabric cage |
| Tolerance class | P4S | tolerance class P4S, FAG standard better than P4 to DIN 620 |
| Arrangement bearing set | U | Single bearing |
| Preload | L | preload light |