PRODUCTS
- Home
- Giới thiệu sản phẩm
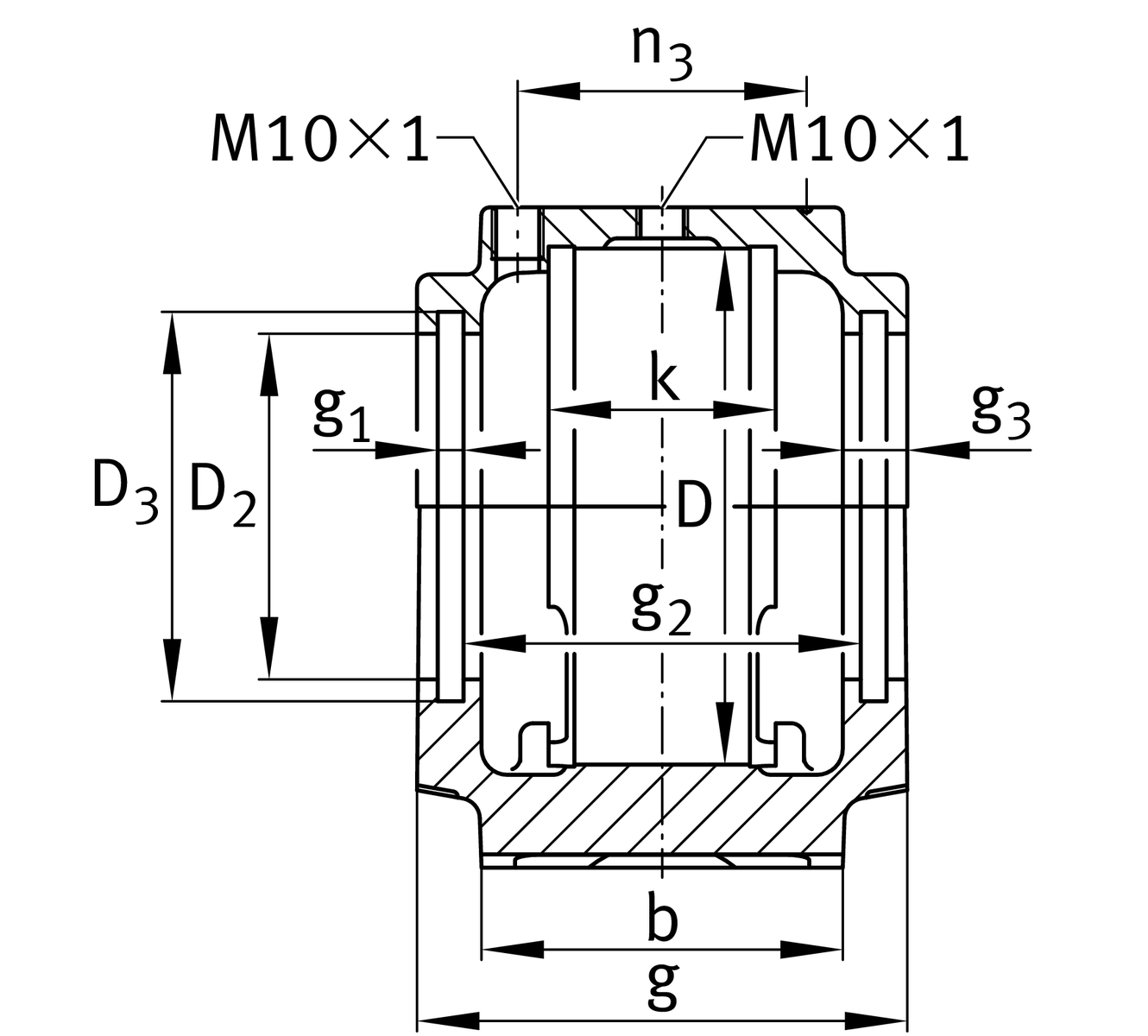
| D | 140 mm | Outside diameter bearing |
| a | 315 mm | Length base |
| h1 | 177 mm | Height |
| g | 120 mm | Width housing body |
| K | 58 mm | Width bearing seat |
| ≈m | 9.3 kg | Weight |
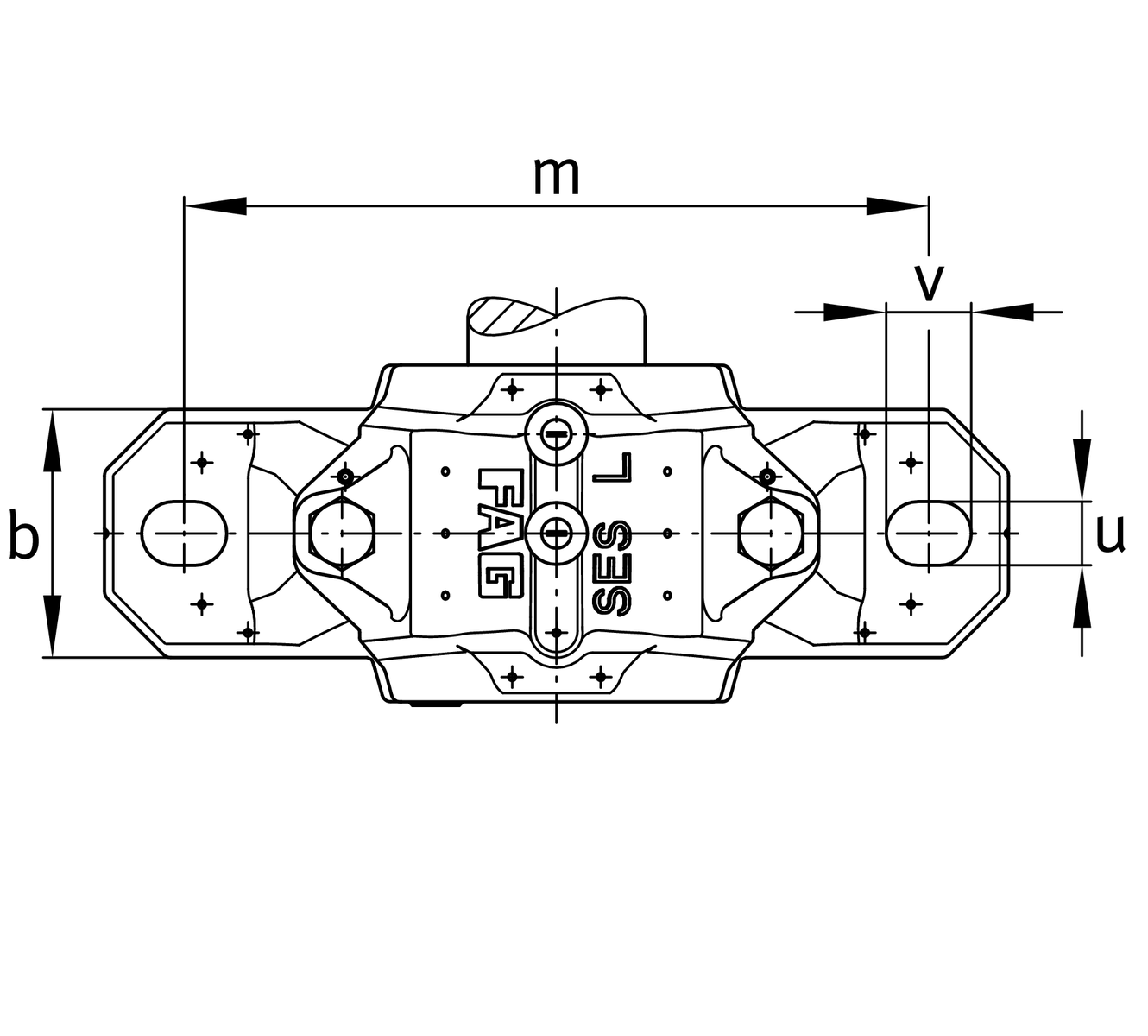
| b | 90 mm | Width base |
| c | 32 mm | Height base |
| h | 95 mm | Base to shaft centerline height |
| m | 260 mm | Distance fixing bore |
| s | 19.05 mm | Screw size |
| s | M20 | Size of fixing screws |
| u | 22 mm | Width slot |
| v | 28 mm | Length slot |
| D2 | 92.5 mm | Diameter sealing |
| D3 | 101 mm | Diameter sealing groove |
| D5 | 98.7 mm | Outside diameter sealing labyrinth |
| g1 | 5 mm | Width sealing groove |
| g2 | 102 mm | Distance sealing |
| g3 | 13 mm | Wall thickness |
| g4 | 36 mm | Distance oil lubricatian |
| m1 | 218 mm | Distance holes aligned pins m1 |
| n3 | 77 mm | Distance lubrication |
| n4 | 106 mm | Distance lubriaction sealing |
| u1 | 8 mm | Bore diameter u1 |
| u2 | 18 mm | Bore diameter u2 |