PRODUCTS

  • Home
  • Giới thiệu sản phẩm

FAG
VCM7015-CDLR-T-P4S-UL-XL
Angular contact ball bearing VCM7015-CDLR-T-P4S-UL-XL
Thêm vào yêu cầu báo giá
Main Dimensions & Performance Data
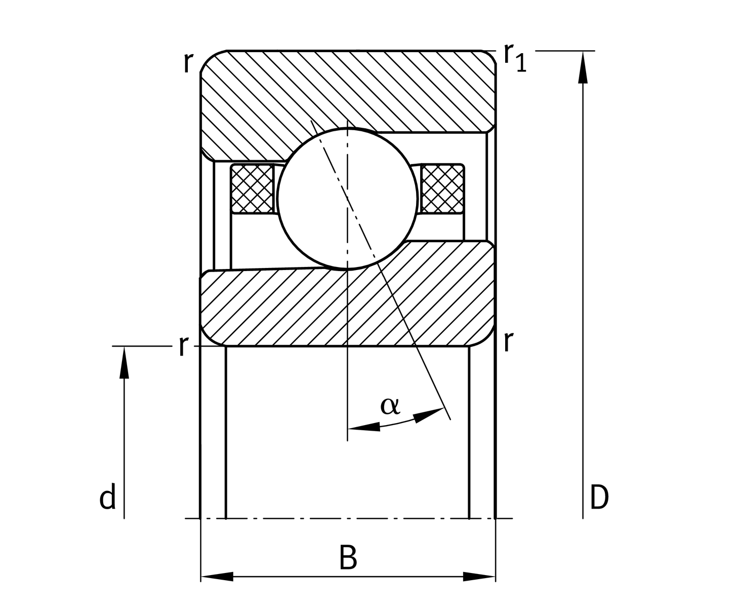
d
75 mm
Bore diameter
D
115 mm
Outside diameter
B
20 mm
Width
Cr
67,000 N
Basic dynamic load rating, radial
C0r
23,200 N
Basic static load rating, radial
Cur
1,180 N
Fatigue load limit, radial
nG Grease
22,000 1/min
Limiting speed for grease lubrication
nG Oil
34,000 1/min
Limiting speed for oil lubrication
≈m
0.59 kg
Weight

Mounting dimensions
da
82 mm
Diameter shaft shoulder
da
h12
Diameter shaft shoulder clearance
Da
107 mm
Shoulder diameter outer ring
Da
H12
Shoulder diameter outer ring clearance
ra max
1 mm
Maximum recess radius
ra1 max
0.6 mm
Maximum recess radius
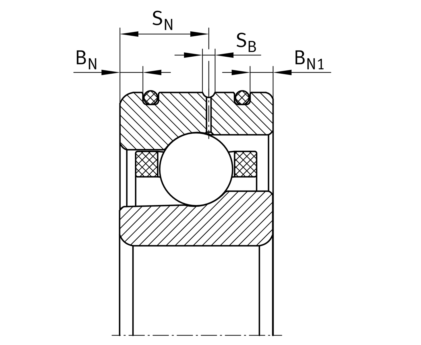
BN
3 mm
Distance ring grooves
BN1
3 mm
Distance ring grooves
SN
11.6 mm
Distance to lubrication hole
SB
1.4 mm
Width of lubricating groove
a
24.5 mm
Distance between the apexes of the pressure cones

Dimensions
rmin
1.1 mm
Minimum chamfer dimension
r1 min
0.6 mm
Minimum chamfer dimension
α
17 °
Contact angle

Temperature range
Tmin
-30 °C
Operating temperature min.
Tmax
100 °C
Operating temperature max.

Additional information
FV L
115 N
Preload force light
FV M
303 N
Preload force medium
FV H
635 N
Preload force heavy
KaE L
334 N
Lift-off force light
KaE M
898 N
Lift-off force medium
KaE H
1,932 N
Lift-off force heavy
ca L
70 N/µm
Axial rigidity light
ca M
101 N/µm
Axial rigidity medium
ca H
135 N/µm
Axial rigidity heavy

Your current product variant
Contact angleC(17°)Contact angle 17°
LubricantWithout
SealingWithout
Outer shapeDLRDirect lubrication, annular slots with O rings
CageTLaminated fabric cage
Tolerance classP4Stolerance class P4S, FAG standard better than P4 to DIN 620
Arrangement bearing setUSingle bearing
PreloadLpreload light
Thêm vào yêu cầu báo giá